Allegro MicroSystems ATS468 Differential Peak-Detecting Sensor IC
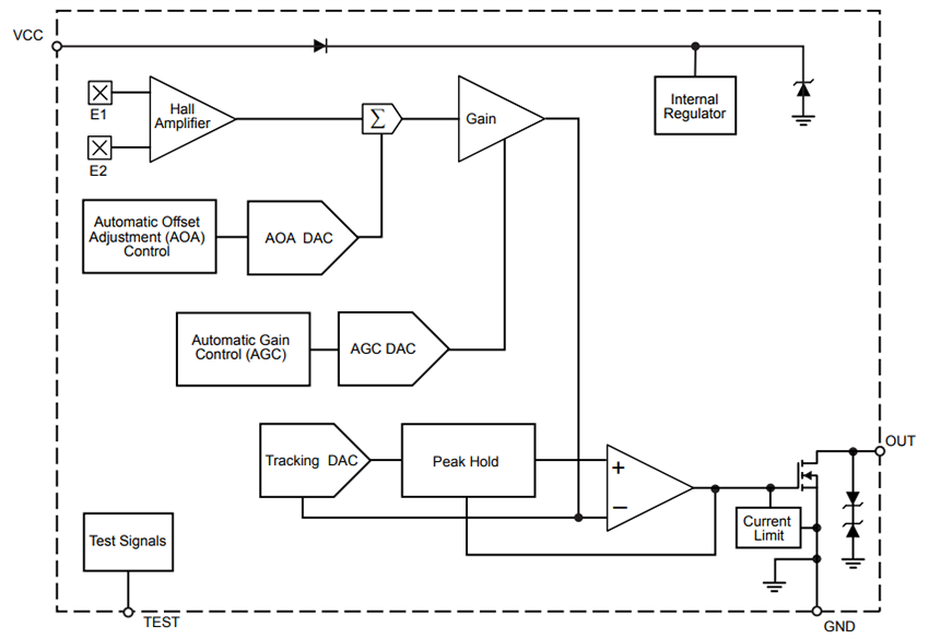
Allegro MicroSystems ATS468 3-Wire True Zero-Speed Differential Peak-Detecting Sensor Integrated Circuit (IC) with continuous calibration is a true zero-speed gear tooth sensor IC. The device consists of an optimized Hall IC and a permanent magnet pellet configuration in a single overmolded package. The integrated circuit provides a manufacturer-friendly solution for digital gear tooth sensing applications. This small 4-pin through-hole SIP package can be easily assembled and used in conjunction with gears of various shapes and sizes. The Allegro MicroSystems ATS468 is ideally suited to obtaining speed and duty cycle information in gear tooth–based speed, position, and timing applications, such as in speedometers.ATS468 integrates two Hall-effect elements spaced 2.2mm apart, designed to detect differential magnetic signals produced by a ferromagnetic target. The advanced digital circuitry minimizes system offsets, calibrates gain to ensure consistent switching regardless of air gap variations, and enables true zero-speed detection. Upon startup, the sensor automatically adjusts offset and gain for optimal signal performance. These calibrations are continuously refined during operation through a running-mode calibration process, which enhances stability and provides resistance to environmental disturbances such as minor target vibrations or sudden changes in air gap.
Features
- Wide operating voltage range
- Peak detecting algorithm, robust against signal perturbations
- Capable of sensing a wide range of target types
- Running mode calibration for continuous optimization
- Single-chip IC for high reliability
- Precise duty cycle signal throughout the operating temperature range
- Large operating air gaps
- Automatic Gain Control (AGC) for air-gap-independent switch points
- Automatic Offset Adjustment (AOA) for signal processing optimization
- True zero-speed operation
- Undervoltage lockout
- Reverse battery protection
- Robust test coverage capability with Scan Path and IDDQ measurement
- 4-pin through-hole SIP package
- Lead-free
Applications
- Automotive systems
- Speedometers
- Transmission speed sensors
- Crankshaft and camshaft position sensing
- Wheel speed detection (ABS systems)
- Industrial equipment
- Gear tooth sensing for motors and rotating machinery
- Rotational speed and timing detection
- Position sensing in automation systems
- Consumer and commercial devices
- Digital tachometers
- Fan speed monitoring
- Robotics requiring gear-based motion feedback
Specifications
- 28V maximum forward supply voltage
- -18V maximum reverse supply voltage
- 4V to 26.5V supply voltage range
- 3.0mA to 7.5mA supply current range
- 30mA maximum output current
- -50mA maximum reverse output current
- -0.5V maximum reverse output voltage
- 28V maximum output off voltage
- 2.3ms maximum power-on time
- 38V minimum supply zener clamp voltage
- -1mA maximum reverse supply current
- 28V minimum output zener clamp voltage
- 3mA maximum output zener current
- 30mA to 85mA output current limit range
- 400mV maximum output saturation voltage, 220mV typical
- 10µA maximum output leakage current
- 2µs typical output fall time
- 0.5mm to 3.5mm operational air gap range
- 20G to 1200G operating magnetic signal range
- 0kHz to 10kHz operating frequency range
- 20kHz minimum analog signal bandwidth
- ±15% maximum output duty cycle precision
- 0.3% typical output period precision
- ±60G maximum allowable user-induced differential offset
- -40°C to +150°C ambient operating temperature range
- +165°C maximum junction temperature
Functional Block Diagram
Application Circuit Diagram
Sensing
Publicerad: 2025-08-15
| Uppdaterad: 2025-08-21
