Amphenol Advanced Sensors NovaSensor FMA Filtration Air Restriction Sensors
Amphenol Advanced Sensors NovaSensor FMA Filtration Air Restriction (FAR) Sensors accurately measure pressure loss across a variety of air filtration devices. These sensors use high-accuracy NPA piezoresistive technology in a low-profile form factor that is easy to install and maintenance-free. Amphenol Advanced Sensors NovaSensor FMA FAR sensors offer multiple positive or vacuum pressure ranges and mate with an integrated AMPSEAL 16 (three-way) electrical connector and 1/8-27 NPT female pressure connection port.Features
- 5VDC supply voltage
- 0.5V to 4.5V (ratiometric) linear output
- Diagnostic features
- Bridge connection checks
- Bridge short detection
- Power loss detection
- Temperature compensated
- Sealed AMP electrical connector
- Multiple pressure ranges available (vacuum and pressure)
- Fast response time
- REACH and RoHS compliant
Applications
- Engine air filtration systems
- Cabin pressure
- HVAC pressure
- Exhaust pressure
- Industrial filters
Specifications
- ±2.5% FSO accuracy
- 0.12% FSO resolution
- Compensated temperature range
- 0°C to 80°C
- 0°C to 60°C for 5" H2O
- 2x full pressure proof pressure
- 3x full pressure burst pressure
- IP66 ingress protection
- -40°C to +125°C operating temperature range
- Less than 10ms response time
- Pressure ranges
- 5" H2O
- 40" H2O
Application Example
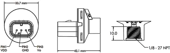
Connector Pin Out & Port Thread
Transfer Function
Videos
View Results ( 2 ) Page
| Artikelnummer | Beskrivning | Manövreringstryck |
|---|---|---|
| FMA-500-T1-40W-GV | Pressure Sensors - Industrial 40 in H2O 10kPa Vacuum Gage | 10 kPa |
| FMA-500-T1-05W-GV | Pressure Sensors - Industrial 5 in H2O 1.25kPa Vacuum Gage | 1.25 kPa |
Publicerad: 2018-10-15
| Uppdaterad: 2022-07-27
