ams OSRAM CMV2000 Image Sensors
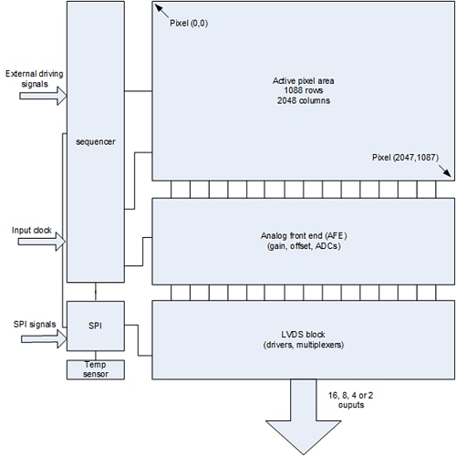
ams OSRAM CMV2000 Image Sensor is a high sensitivity, pipelined global shutter CMOS image sensor with 2048px x 1088px resolution capable of HD format. Pipelining allows exposure during readout. The state-of-the-art pixel architecture offers true correlated double sampling (CDS) reducing the fixed pattern noise and dark noise significantly. The imager integrates 16 LVDS channels each running at 480Mbps, resulting in a 340fps frame rate at full resolution at 10-bit per pixel. Driving and readout are programmed over a serial peripheral interface. An internal timing generator produces the signals needed for readout and exposure control of the image sensor. External exposure triggering remains possible on the ams CMV2000. A 12-bit per pixel mode is available at a reduced frame rate.Features
- Pipelined global shutter type with true CDS
- Region of Interest (ROI) windowing capability with up to 8 separate ROIs, row based only
- X-Y mirroring function
- Multiple High Dynamic Range (HDR) modes up to 90dB
- On-chip temperature sensor and timing generation
- SPI programmable
- 3.3V and 1.8V signaling
- Monochrome and Bayer (RGB) configuration
- RoHS compliant
Applications
- 3D imaging
- ITS
- Machine vision
- Motion capture
- Video/broadcast
- Bar and 2D code
- Biometrics
Specifications
- Resolution: 2MP - 2048 (H) x 1088 (V)
- Pixel size: 5.5μm x 5.5μm
- Optical format: 2/3''
- Frame rates (at full resolution): 340fps (10-bit mode) and 70fps (12-bit mode)
- Output interface: 16 LVDS outputs at 480Mbps
- Sensitivity: 5.56V/lux.s (with microlenses at 550nm)
- Conversion factor: 0.075LSB/e- (10-bit mode) at unity gain
- Full well charge: 13.5Ke-
- Dark noise: 13e-RMS
- Dynamic range: 60dB
- Signal to noise ratio (SNR) max: 41.3dB
- Parasitic light sensitivity: 1/50000
- Dark current: 125e-/s (25°C)
- Fixed pattern noise: <1LSB (<0.1% of full swing)
- Supply voltage: 1.8V / 3.3V
- Power: 600mW
- Operating temperature: -30°C to +70°C
- Package options: ceramic 95 pins μPGA or LGA; 92 pins LCC
Block Diagram
Additional Resources
Publicerad: 2015-10-06
| Uppdaterad: 2022-03-11
