Analog Devices Inc. AD4570 AMR Device Magnetic Sensor
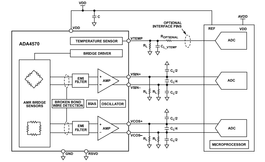
Analog Devices Inc. AD4570 Anisotropic Magnetoresistive (AMR) Magnetic Sensor integrates signal conditioning amplifiers and Analog-to-Digital Converter (ADC) drivers. The ADA4570 Sensor produces two differential analog outputs that indicate the angular position of the surrounding magnetic field. The ADA4570 consists of two die within one package, an AMR sensor, and a fixed gain instrumentation amplifier. The AMR sensors deliver amplified differential cosine and sine output signals with respect to the angle. The AD4570 Sensors feature contactless angular measurement, high precision 180° angle sensor, and fault diagnostics for a single-chip solution.The Analog Devices Inc. AD4570 AMR Magnetic Sensor comes with two Wheatstone bridges at a relative angle of 45° to one another. A complete rotation of a dipole magnet produces two periods on the sinusoidal outputs. The magnetic angle (α) calculated from the SIN and COS differential outputs represents the physical orientation of the magnet. This AMR Sensor is AEC-Q100 qualified for automotive applications and is available in an 8-lead SOIC package. Typical application includes brushless dc motor control and positioning, actuator control and positioning, contactless angular measurement and detection, and magnetic angular position sensing.
Features
- Contactless angular measurement
- High precision 180° angle sensor
- Typical angular error of ±0.1°
- Low output noise of 850μVrms
- Sine and cosine differential outputs
- Ratiometric analog voltage outputs
- Negligible hysteresis
- SAR or Σ-Δ ADC compatible
- Temperature compensated AMR bridge
- -40°C to 125°C industrial temperature range
- -40°C to 150°C automotive temperature range
- EMI resistant
- Fault diagnostics
- 2.7V to 5.5V operating supply voltage range
- Minimal phase error of 0.85° at 30,000rpm
- AEC-Q100 qualified for automotive applications
- Single chip solution
- Available in an 8-lead SOIC package
Applications
- Absolute position measurement (linear and angle)
- Brushless DC motor control and positioning
- Actuator control and positioning
- Contactless angular measurement and detection
- Magnetic angular position sensing
Block Diagram
Typical Application Circuit
Performance Graph
Additional Resources
Why AMR Sensors Are a Great Option for High-Precision Position Measurements?
Publicerad: 2021-08-25
| Uppdaterad: 2025-02-07
