Analog Devices Inc. AD5676/R Octal, 16-Bit nanoDACs
Analog Devices AD5676/R Octal, 16-Bit nanoDACs are low-power digital-to-analog converters that include a gain select pin, giving a full-scale output of VREF (gain = 1) or 2 x VREF (gain = 2). The devices operate from a single 2.7V to 5.5V supply and are guaranteed monotonic by design. ADI AD5676/R nanoDACs is available in a 20-lead TSSOP package and incorporates a power-on reset circuit and an RSTSEL pin that ensures that the DAC outputs power up to zero scale or midscale and remains there until a valid write. AD5676/R nanoDACs contains a power-down mode, reducing the current consumption to 1μA typical while in power-down mode. AD5676/R nanoDACs feature a -40°C to +125°C operating temperature range.Features
- High performance
- High relative accuracy (INL): ±3 LSB maximum at 16 bits
- Total unadjusted error (TUE): ±0.14% of FSR maximum Offset error: ±1.5 mV maximum
- Gain error: ±0.06% of FSR maximum
- Wide operating ranges
- -40°C to +125°C temperature range
- 2.7V to 5.5V power supply
- Easy implementation
- User-selectable gain of 1 or 2 (GAIN pin)
- 1.8V logic compatibility
- 50MHz SPI with readback or daisy chain
- Robust 2kV HBM and 1.5kV FICDM ESD rating
- 20-lead, TSSOP RoHS-compliant package
Applications
- Optical transceivers
- Base station power amplifiers
- Process control (PLC input/output cards)
- Industrial automation
- Data acquisition systems
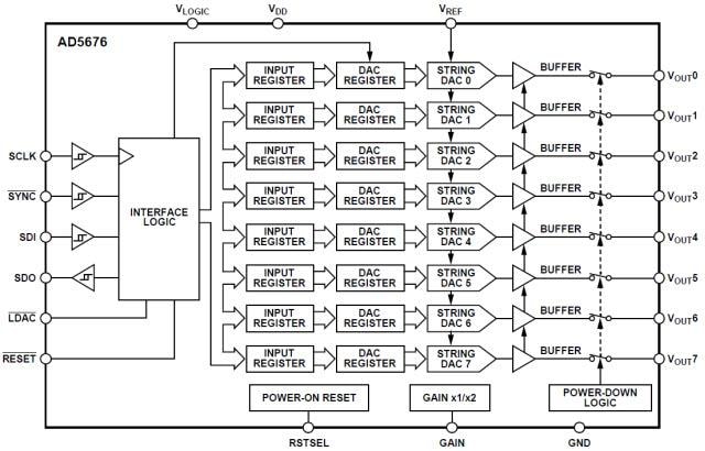
Functional Block Diagrams
Publicerad: 2015-01-13
| Uppdaterad: 2024-03-28
