Analog Devices Inc. AD7779 24-Bit Simultaneous Sampling ADCs

Analog Devices AD7779 includes 8-channel 24-bit simultaneous sampling ADCs designed to ensure that circuit breaker equipment powers up quickly in smart grid systems. The devices feature eight full sigma-delta (Σ-Δ) ADCs on the chip. The eight simultaneous sampling channels measure the output from current and voltage sensors in three-phase power applications. Each input channel includes a programmable gain stage enabling 1, 2, 4, and 8 gains to map lower amplitude sensor outputs in the full-scale ADC input range. This design maximizes the dynamic range of the signal chain.

The AD7779 ADCs achieve a 112dB dynamic range at 8kSPS and enable the consolidation of protection and measurement functions on a single ADC channel. In addition, the AD7779 ADCs integrates a programmable gain amplifier (PGA) to scale various sensor outputs. A sample rate converter (SRC) offers a sampling rate of resolution up to 15.25µSPS. The SRC helps maintain coherency to a 0.01Hz change in line frequency over a 50Hz (-15%) to 60Hz (+15%) range. An additional low-resolution SAR ADC channel operates from a separate power supply and provides data for system and chip diagnostics.

Features

  • 8-channel, 24-bit simultaneous sampling analog-to-digital converter (ADC)
  • Single-ended or true differential inputs
  • Programmable gain amplifier (PGA) per channel (gains of 1, 2, 4, and 8)
  • Low DC input current: ±4nA
  • Up to 16kSPS output data rate (ODR) per channel
  • Programmable ODRs and bandwidth
  • Sample rate converter (SRC) for coherent sampling
    • Sampling rate resolution up to 15.2μSPS
  • Low latency sinc3 filter path
  • Adjustable phase synchronization
  • Internal 2.5V reference
  • Two power modes
    • High-resolution mode
    • Low power mode
  • Optimizes power dissipation and performance
  • Low-resolution successive approximation (SAR) ADC for system and chip diagnostics
  • Power supply
    • Bipolar (±1.65V) or unipolar (3.3V) supplies
    • Digital input/output (I/O) supply: 1.8V to 3.6V
    • Performance temperature range: -40°C to +105°C
    • Functional temperature range: -40°C to +125°C

Applications

  • Circuit breakers
  • General-purpose data acquisition
  • Electroencephalography (EEG)
  • Industrial process control

Technical Articles

  • Newest Sigma-Delta ADC Architecture Averts Disrupted Data Flow
    This article introduces the way distributed data acquisition systems have been traditionally synchronized for both SAR ADC-based systems and sigma-delta (∑-Δ) ADC-based systems and explores the differences among the two architectures.

  • Why Is DC Energy Metering Important?
    Driven by the development of efficient and economic power conversion technology based on wide bandgap semiconductors, such as GaN and SiC devices, many applications now see benefits in switching to DC energy exchange. As a consequence that, precision DC energy metering is becoming relevant, especially where energy billing is involved.

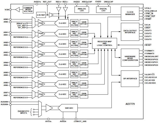
Functional Block Diagram

Analog Devices Inc. AD7779 24-Bit Simultaneous Sampling ADCs
Publicerad: 2016-04-28 | Uppdaterad: 2022-03-11