Analog Devices Inc. ADIN2299 RapID Platform Gen 2 Network Interface
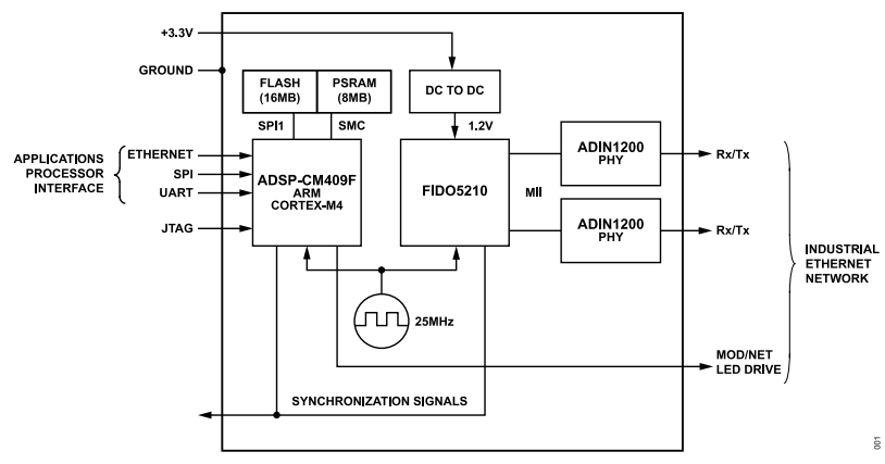
Analog Devices Inc. ADIN2299 RapID Platform Gen 2 Network Interface is used to manage the industrial protocol and network traffic for an applications processor. The module contains everything needed to participate in an Ether-CAT, PROFINET® real-time (RT) and isochronous real-time (IRT), EtherNet/IP network. This includes a communications controller, protocol stack, flash, RAM, follower controller, and physical layer (PHY). An applications processor connects via a universal asynchronous receiver transmitter (UART), serial peripheral interface (SPI), or Ethernet interface.The Analog Devices Inc. ADIN2299 RapID Platform Gen 2 Network Interface is offered in a 194-ball Chip Scale Package Ball Grid Array (CSP_BGA).
Features
- Configurable industrial protocol support
- PROFINET RT (Class B)
- PROFINET IRT (Class C): coming soon
- EtherNet/IP with DLR
- EtherCAT
- All protocols precertified
- Configurable applications processor interface
- UART: 115,200bps to 1,000,000bps
- Ethernet at 10Mbps or 100Mbps
- SPI follower: 10MHz maximum clock
- I2C, QSPI, and CAN: future option
- Industrial Ethernet interface-compliant to IEEE 802.3, 10Base or 100Base transmit half and full-duplex
- Single 3.3V power supply, 840mW
- Cycle time down to 1 ms (cycle times vary based on protocol, link type, and application data)
- 194-ball chip-scale package BGA form factor
- RoHS 3 compliant
- –40°C to +85°C industrial temperature range
Applications
- Factory and process automation
- Motion control
- Building automation
- Transportation
Block Diagram
Package Outline
Publicerad: 2022-06-01
| Uppdaterad: 2022-09-15
