Analog Devices Inc. ADRF5023 Silicon SPDT Switches
Analog Devices Inc. ADRF5023 Silicon SPDT Switches are non-reflective, single-pole, double-throw (SPDT) switches manufactured in the silicon process. The ADRF5023 provides a 9kHz to 45GHz operating range with a typical insertion loss of 1.7dB and isolation of 42dB. The switches feature an RF input power handling capability of 30dBm for the through path, 24dBm for the terminated path, and 30dBm for the hot switching at the RF common port. The devices need a positive supply of 3.3V and a negative supply of -3.3V. The ADRF5023 utilizes complementary metal-oxide semiconductor (CMOS)-/low voltage transistor to transistor logic (LVTTL)-compatible controls.The ADI ADRF5023 silicon SPDT switches also operate with a single positive supply voltage (VDD) applied while the negative supply voltage (VSS) is tied to the ground. The small signal performance is maintained in this operating condition while the switching characteristics, linearity, and power handling performance are derated.
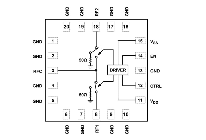
The ADRF5023 is housed in a 20-lead, 3.0mm x 3.0mm, RoHS-compliant, land grid array (LGA) package and operates from -40°C to +105°C.
Features
- 9kHz to 45GHz ultra-wideband frequency range
- Nonreflective design
- Low insertion loss
- 0.9dB typical to 18GHz
- 1.6dB typical to 40GHz
- 1.7dB typical to 45GHz
- High power handling at TCASE = +85°C
- 30dBm through path
- 24dBm terminated path
- 30dBm hot switching (RFC port)
- High isolation of 42dB typical to 45GHz
- High input linearity
- 0.1dB power compression (P0.1dB) of 31dBm
- Third-order intercept (IP3) of 53dBm
- 3.5μs RF settling time (0.1dB final RF output)
- No low-frequency spurious signals
- All off-state control
- Positive control interface of CMOS-/LVTTL-compatible
- 20-lead, 3.0mm x 3.0mm LGA package
Applications
- Test and instrumentation
- Cellular infrastructure of 5G millimeter wave
- Military radios, radars, and electronic countermeasures (ECMs)
- Microwave radios and very small aperture terminals (VSATs)
- Industrial scanners
Additional Resources
Block Diagram
Publicerad: 2023-02-22
| Uppdaterad: 2023-02-27
