Analog Devices Inc. ADRF5715 Silicon Digital Attenuators
Analog Devices Inc. ADRF5715 Silicon Digital Attenuators are 1-bit digital attenuators with 16dB attenuation. These attenuators function at a 1MHz to 30GHz ultra wideband frequency range with better than 1.15dB of insertion loss and excellent attenuation accuracy. The ADRF5715 silicon attenuators offer ATTIN and ATTOUT ports that provide RF input power handling capability of 30dBm average and 33dBm peak. These attenuators feature a dual-supply voltage of -3.3V and 3.3V and support single-supply operation. Typical applications include industrial scanners, 5G millimeter wave cellular infrastructure, military radios, radars, microwave radios, and Electronic Counter Measures (ECMs).The ADRF5715 silicon attenuators are compatible with Complementary Metal-Oxide Semiconductors (CMOS) and Low Voltage Transistor-Transistor Logic (LVTTL). These attenuators are available in a 12-terminal, 2.25mm x 2.25mm LGA package and are RoHS compliant.
Features
- 1MHz to 30GHz ultra-wideband frequency range
- 16dB single attenuation step
- Low insertion loss:
- 0.6dB at 8GHz
- 0.8dB at 18GHz
- 1.15dB at 30GHz
- Attenuation accuracy:
- ±0.15dB typical at up to 18GHz
- ±0.20dB typical 18GHz up to 30GHz
- High input linearity:
- 33dBm typical P0.1dB insertion loss state
- 30dBm typical P0.1dB 16dB attenuation state
- 51dBm typical IP3 insertion loss state
- 49dBm typical IP3 16dB attenuation state
- High RF power handling:
- Input at ATTIN and ATTOUT
- 30dBm typical steady state average
- 33dBm typical steady-state peak
- Input at ATTIN and ATTOUT
- 6.5µs typical RF amplitude settling time (0.1dB of final RFOUT)
- Single-supply operation supported
- Tight distribution in relative phase
- No low-frequency spurious signals
- CMOS-/LVTTL-compatible
- 12-terminal, 2.25mm x 2.25mm, and Land Grid Array [LGA] package
Applications
- Industrial scanners
- Test and instrumentation
- 5G millimeter wave cellular infrastructure
- Military radios and radars
- Electronic Counter Measures (ECMs)
- Microwave radios
- Very Small Aperture Terminals (VSATs)
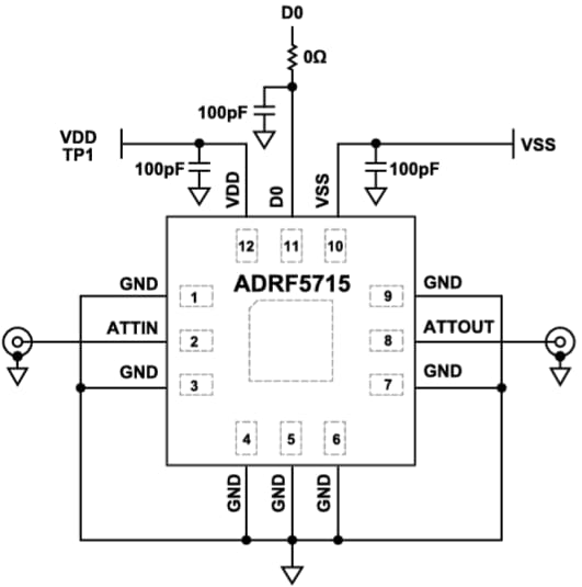
Simplified Application Circuit
Functional Block Diagram
Publicerad: 2024-01-31
| Uppdaterad: 2024-03-06
