Analog Devices Inc. ADXRS453 Digital Output Gyroscope

Analog Devices ADXRS453 Digital Output Gyroscope is an angular rate sensor optimized for industrial, instrumentation, and stabilization applications in high-vibration environments. An advanced, differential, quad-sensor design rejects the influence of linear acceleration, enabling the ADXRS453 to offer high-accuracy rate sensing in harsh environments where shock and vibration are present. The ADXRS453 is capable of sensing an angular rate of up to ±300°/sec. Angular rate data is presented as a 16-bit word that is part of a 32-bit SPI message.

The ADXRS453 uses an internal, continuous self-test architecture. The integrity of the electromechanical system is checked by applying a high-frequency electrostatic force to the sense structure to generate a rate signal that can be differentiated from the base-band rate data and internally analyzed.

The Analog Devices ADXRS453 is offered in a 16-lead plastic cavity Small Outline Integrated Circuit (SOIC) package, ideal for Yaw Rate (z-axis) sensing. The ADXRS453 is also available in an innovative SMT-compatible vertical mount Leadless Chip Carrier (LCC) package, which can be oriented for Pitch, Roll, or Yaw response without the need for additional boards mounted at 90°. Both package options are Pb-free and RoHS-compliant.

Features

  • Complete rate gyroscope on a single chip
  • ±300°/sec angular rate sensing
  • Ultrahigh vibration rejection: 0.01°/sec/g
  • Excellent 16°/hour null bias stability
  • Internal temperature compensation
  • 2000g powered shock survivability
  • SPI Digital output with 16-bit data word
  • Low noise and low power
  • Wide 3.3V to 5V operating voltage range
  • -40°C to +105°C operating temperature range
  • Ultra small, light, and RoHS compliant
  • Package options:
    • SOIC_CAV-16 package for yaw rate (z-axis) response
    • LCC_V-14 package for pitch, roll, or yaw response

Applications

  • Rotation sensing in high vibration environments
  • High performance platform stabilization
  • Rotation sensing for industrial and instrumentation applications

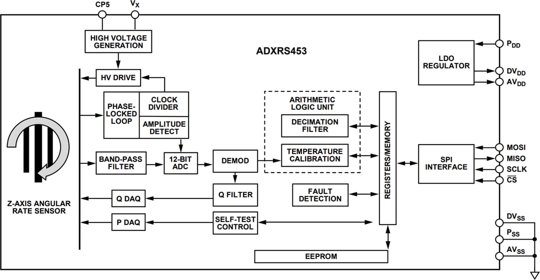
Functional Block Diagram

Block Diagram - Analog Devices Inc. ADXRS453 Digital Output Gyroscope

Recommended Application Circuit

Application Circuit Diagram - Analog Devices Inc. ADXRS453 Digital Output Gyroscope

Package Outline (SOIC_CAV)

Mechanical Drawing - Analog Devices Inc. ADXRS453 Digital Output Gyroscope

Package Outline (LCC_V)

Mechanical Drawing - Analog Devices Inc. ADXRS453 Digital Output Gyroscope
Publicerad: 2019-06-10 | Uppdaterad: 2024-02-16