Apex Microtechnology VRE205 Low Drift Precision Voltage Reference
Apex Microtechnology VRE205 Low Drift Precision Voltage Reference provides ultrastable +5V outputs with ±0.8mV initial accuracy. The VRE205 also provides a 1.33ppm/°C temperature coefficient over the full military temperature range. Accuracy improvement is possible by a multipoint laser compensation technique. Other performance improvements include initial accuracy, warm-up drift, line regulation, and long-term stability. This feature makes the Apex Microtechnology VRE205 accurate and stable. The VRE205 is housed in a 20-terminal ceramic LCC package for maximum long-term stability.Features
- +5V output, ±0.8mV high accuracy
- 1.33ppm/°C (-55°C to +125°C) low drift
- 6ppm/1000 hours typical excellent stability
- 6ppm/V Typical excellent line regulation
- ±13.5V to ±22V wide supply range
Applications
- Precision A/D and D/A converters
- Transducer excitation
- Accurate comparator threshold reference
- High-resolution servo systems
- Digital voltmeters
- High-precision test and measurement instruments
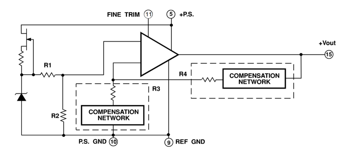
BLOCK DIAGRAM
Publicerad: 2020-08-24
| Uppdaterad: 2024-04-09
