Diodes Incorporated AP33771C USB Type-C® PD 3.1 Sink Controllers
Diodes Incorporated AP33771C USB Type-C® PD 3.1 Sink Controllers are highly integrated devices that support Extended Power Range (EPR)/Adjustable Voltage Supply (AVS) up to 28V and Standard Power Range (SPR)/ Programmable Power Supply (PPS) up to 21V. The devices target DC power requests/control for Type-C Connector-equipped Devices (TCDs) through simple external resistor settings. For a simple TCD without a system MCU, the AP33771C initiates the desired power request by interpreting matching resistance values of the VSEL pin (voltage) and ISEL pin (current) after Power-On Reset (POR).Based on the high-voltage process, the Diodes Inc AP33771C sink controllers offer short protection between the CC1/CC2 pins and adjacent high-voltage pins up to 34V. Smart built-in firmware offers comprehensive safety protection schemes, including overvoltage protection (OVP), undervoltage protection (UVP), overcurrent protection (OCP), and moisture detection between DP and DN. An LED indicator is used to show the PD power negotiation status. Automatic cable voltage drop compensation is implemented to cover practical usage situations. Meanwhile, the AP33771C can indicate the insertion orientation of the Type-C attachment.
Features
- USB PD 3.1 v1.6 certified with TID: 9960
- 3V to 31V operating voltage range of VCC
- Supports PD 3.1 EPR/AVS up to 28V and SPR/PPS up to 21V
- Voltage/current selections through resistor settings
- Support FLIP indication of the Type-C attachment
- Support OVP with hard reset and auto restart
- Support UVP and OCP with output power shutdown
- Driver for output enable nMOS switch
- Supports dead battery function
- Automatic cable voltage drop compensation
- VBUS short protection on CC1/CC2 pins up to 34V
- Moisture detection between DP and DN
- LED indication for different negotiation results
- Easy to use
- Totally lead-free and fully RoHS compliant
- Halogen- and antimony-free, Green device
Applications
- USB Type-C connector-equipped battery-powered devices
- USB Type-C connector-equipped DC-power input devices
- USB PD 3.1 testers
Typical System Configuration
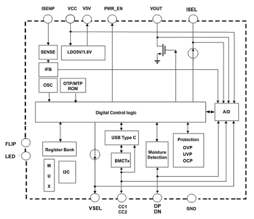
Functional Block Diagram
Publicerad: 2024-09-30
| Uppdaterad: 2024-11-01
