Diodes Incorporated AP53782 USB PD DRP Controller with I2C Interface

Diodes Inc. AP53782 USB Power Delivery (PD) Dual-Role Power (DRP) Controller is a highly integrated USB Type-C® PD3.1 DRP controller with an I2C interface for flexible system control. The Diodes Inc. AP53782 supports Extended Power Range (EPR)/Adjustable Voltage Supply (AVS) up to 28V and Standard Power Range (SPR)/Programmable Power Supply (PPS) up to 21V, ideal for applications requiring dynamic voltage and current negotiation.

Designed to operate with an external MCU via I2C (SCL, SDA) and interrupt pins, the AP53782 enables precise control of power roles. Through I2C commands, the host MCU can configure the device as a sink to request specific Request Data Objects (RDO) from a PD3.1-compliant source or as a source to provide Power Data Objects (PDO) to Type-C connector-equipped devices.

The AP53782 supports QC2.0/3.0 protocols, dead-battery mode, and provides VFB feedback for external DC/DC controllers during power negotiation. The controller integrates Rp/Rd termination resistors and DRP control switches, operating from 3.6V to 28V with a low-side current sense topology. Power-down consumption is as low as 50µA, meeting the needs of battery-powered devices.

Built on a high-voltage process, the AP53782 includes advanced protection features such as short-circuit protection on CC pins up to 34V and DP/DN pins up to 24V. Smart firmware delivers comprehensive safety mechanisms, including overvoltage (OVP), undervoltage (UVP), overcurrent (OCP), and moisture detection for the USB connector. Additional features include dual gate drivers for VBUS nMOS switches, VBUS/VOUT discharge paths, and automatic restart after fault conditions.

Certified to USB PD3.1 v1.8 (TID: 11689), the AP53782 is fully RoHS compliant and halogen-free, making it a reliable and environmentally friendly solution for modern USB Type-C power delivery applications.

Features

  • USB PD3.1 v1.8 certified with TID: 11689
  • Supports autonomous DRP control
  • Supports EPR/AVS up to 28V with 100mV/step
  • Supports SPR up to 21V with 20mV/step and 50mA/step
  • As low as 50µA power-down consumption
  • Supports status register for system monitor and control
  • Supports I2C commands for PDO and RDO selections
  • Supports I2C commands for an external MCU to monitor and control
  • Supports QC2.0/3.0 sink/source controls
  • Supports dual gate drivers for VBUS nMOS switches
  • Supports VFB feedback through the current DAC for external DC/DC
  • 3.6V to 28V operating voltage range with low-side current sense
  • Supports VBUS and VOUT discharge paths
  • Supports dead-battery mode
  • Supports OVP/UVP/OCP with auto-restart
  • Supports moisture detection for the USB connector
  • Up to 34V VBUS short protection on the CC1/CC2 pins, up to 24V on the DP/DN pins
  • Surface-mount WQFN-24 package
  • Totally lead-free and fully RoHS compliant
  • Halogen-/antimony-free, Green device

Applications

  • Power banks
  • Power tools
  • Wireless speakers
  • E-bikes
  • POS terminals
  • Portable displays

Specifications

  • 3.6V to 28V supply voltage range
  • 2.5mA operating supply current
  • 3V operating supply voltage
  • Thermal
    • 29.6°C/W junction-to-ambient resistance
    • 20.6°C/W junction-to-case (top) resistance
    • 11.2°C/W junction-to-board resistance
    • 0.4°C/W junction-to-top characterization parameter
    • 11.4°C/W junction-to-top characterization parameter
    • 6.0°C/W junction-to-case (bottom) resistance
  • ESD ratings
    • 2kV maximum Human Body Model (HBM)
    • 750V maximum Charged-Device Model (CDM)
  • -40°C to +85°C operating ambient temperature range
  • -40°C to +125°C operating junction temperature range
  • +300°C maximum soldering lead temperature for 10s

Typical Applications Circuit

Application Circuit Diagram - Diodes Incorporated AP53782 USB PD DRP Controller with I2C Interface

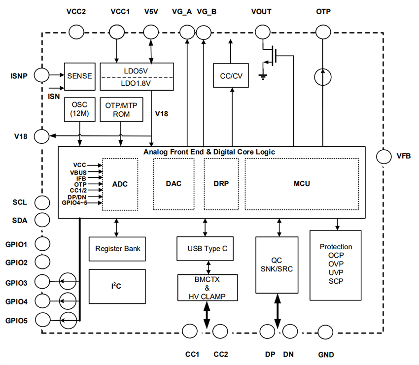
Functional Block Diagram

Block Diagram - Diodes Incorporated AP53782 USB PD DRP Controller with I2C Interface
Publicerad: 2025-11-26 | Uppdaterad: 2026-01-26