Diodes Incorporated APR34910 Secondary Side SR Switcher
Diodes Inc. APR34910 Secondary Side SR Switcher is a secondary-side combo IC combining an N-channel MOSFET and a driver circuit designed for synchronous rectification (SR). The APR34910 supports continuous and discontinuous conduction mode (CCM and DCM) and quasi-resonant flyback operation. It provides a short turn-on and turn-off delay to reduce power loss and eliminates false trigger to keep safe operation without adding any external components or circuitry.The Diodes Inc. APR34910 can be charged by internal PLR (Pulse Linear Regulator) at low system output voltage and provides a wide output operation voltage from 3.3V to 24V. The APR34910 is available in the SO-8 (Type CJ2) package.
Features
- Supports flyback synchronous rectification with CCM/DCM/QR operation mode
- Intelligent control to minimize turn-on and turn-off delay
- Smart-blanking control to prevent shoot through
- Support both high-side and low-side application
- Built-in PLR power supply for low system output voltage
- Internal UVLO protection
- Fewest external components
- Lead-free and RoHS compliant
- Halogen and antimony free “Green” device
Applications
- Smartphone quick chargers
- Notebook computer adaptors
- Set-top box (STB) power supplies
- Other compact switching AC-DC adaptors/chargers
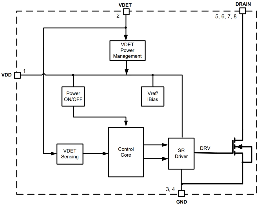
Functional Block Diagram
Publicerad: 2022-02-16
| Uppdaterad: 2022-04-29
