Micro Crystal TS-3032-C7 Temperature Sensor Modules
Micro Crystal TS-3032-C7 Temperature Sensor Modules feature full RTC functions and an embedded XTAL. The Micro Crystal TS-3032-C7 is engineered to operate flawlessly in vacuum environments. This module is encased in a hermetically sealed ceramic package, further fortified by a sturdy metal lid. With its innovative design and unparalleled precision, the TS-3032-C7 is set to revolutionize temperature sensing technology.Features
- 12-bit temperature sensor
- Programmable threshold alarms and timestamps
- ±1°C from -40°C to +85°C accuracy
- 0.0625°C readable resolution
- ±2.5ppm temperature-compensated real-time clock
- 160nA @ 3V ultra-low power consumption
- 1.3V to 5.5V wide operating voltage range
- User programmable password for write protection
- Automatic backup switchover
- Timer, alarm, and external event functions
- 400kHz I2C-bus interface
- 100% Pb-free, RoHS-compliant
- Automotive qualification according to AEC-Q200 available
Applications
- Metering
- Automotive
- IoT cold chain
- RTD replacement
- Wearables, portables
- Precision temperature monitoring
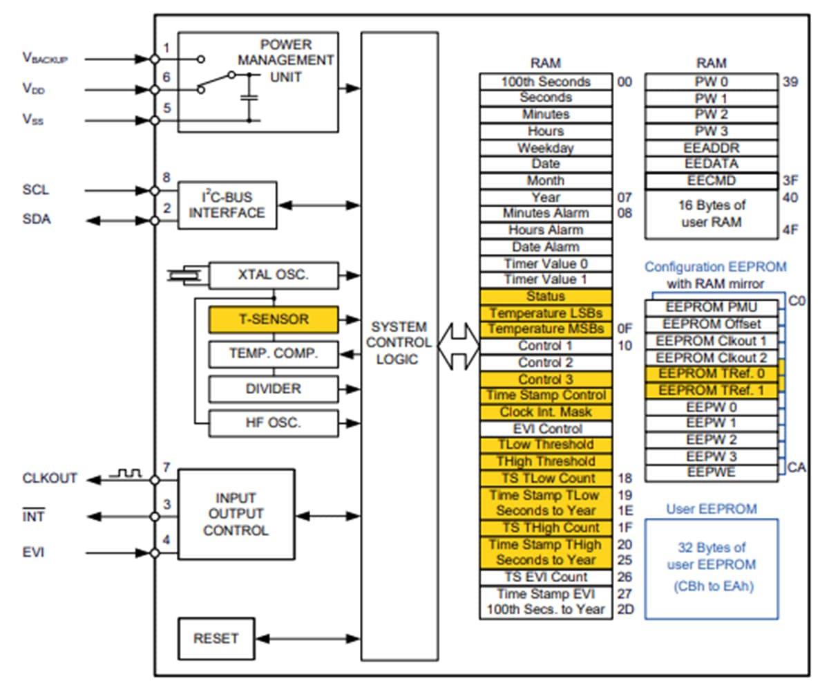
BLOCK DIAGRAM
Videos
Evaluation Board
The Micro Crystal TS-3032-C7 Development Board is available for evaluating the TS-3032-C7.
Publicerad: 2023-06-06
| Uppdaterad: 2024-02-27
