Ezurio BL654PA BLUETOOTH® v5 Modules
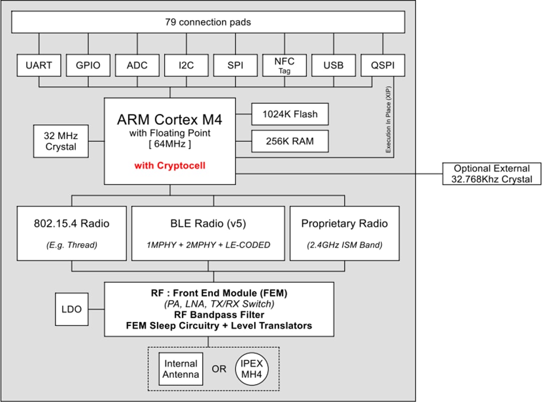
Ezurio BL654 Power Amplifier (PA) BLUETOOTH® v5 Modules are complete multi-protocol embedded wireless modules with exceptional processing capability and extended PA / LNA support. The modules offer OEMs with maximum design flexibility and performance. The modules come with maximum development flexibility with programming options for a simple, intuitive AT Command Set and smartBASIC environment. The BL654 series is powered by Nordic nRF52840 Silicon SoC, which provides a secure and robust BLE and Cortex®-M4F CPU for any OEM product design. Ezurio 453-00020C modules feature an integrated antenna, while the 453-00021C modules incorporate an IPEX MHF4 antenna connector. Typical applications include Internet of Things (IoT) devices and sensors, beacons and proximity applications, secure medical peripherals, and industrial monitoring.Features
- Complete multi-protocol embedded wireless module
- Provides OEMs with maximum design flexibility and performance
- Offers exceptional processing capability
- Powered by Nordic nRF52840 Silicon SoC and Cortex-M4F CPU for any OEM product design.
- Maximum development flexibility with programming options dor a simple, intuitive AT Command Set, and smartBASIC environment
- Integrated SkyWorks Power Amplifier with up to 18dBm output
- 15mm × 10mm × 2.2mm ultra-small footprint
- 2Mbps and LE long range
- BLUETOOTH v5 low energy (BLE) and NFC
- Hostless operation
Applications
- IoT devices and sensors
- Beacons and proximity applications
- Secure medical peripherals
- Industrial monitoring
Block Diagram
Publicerad: 2019-09-10
| Uppdaterad: 2024-04-02
