Infineon Technologies KP23x Analog Barometric Air Pressure (BAP) Sensor
Infineon KP23x Analog Barometric Air Pressure (BAP) Sensor delivers the same performance as the location and altitude change. As a result of different locations, the composition and the quality of the air around changes. Because of these changes, it is important that the engine reacts immediately. Infineon offers various KP23x pressure sensors for barometric measurement with different interfaces (analog and digital) and various pressure ranges.Features
- Absolute air pressure measurement
- 1.0kPa accuracy over a large temperature range
- Ratiometric analog voltage output proportional to the applied pressure
- Output signal fully compensated across pressure and temperature range
- 40kPa to 115kPa pressure range
- -40 to +125°C temperature range
- Serial service interface
- Open Bond Detection for supply and GND (OBD)
- Inverse polarity protection
- Green SMD package
Applications
- Automotive applications (barometric air pressure measurement)
- Industrial control
- Consumer applications
- Medical applications
- Weather stations
- Altimeters
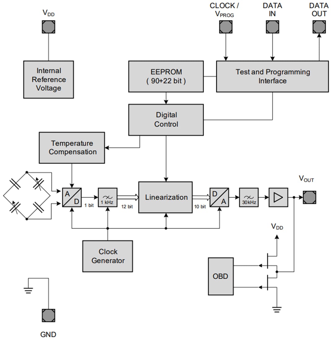
Functional Block Diagram
Publicerad: 2019-04-18
| Uppdaterad: 2024-06-13
