Microchip Technology BM63 BLUETOOTH® Audio Evaluation Board

Microchip Technology BM63 Evaluation Board provides a demonstration and development platform for the BM63 BLUETOOTH® 4.2 Dual-Mode Stereo Audio Module. The BM63 Module enables designers to easily add BLUETOOTH® wireless audio and voice functionality to applications.

The BM63 Evaluation Board's integrated design features a programming interface for plug-and-play capability and rapid prototyping. Additional features include a built-in 3W Class-D stereo audio amplifier, built-in near field communication (NFC), stereo audio output, and data and connection status LEDs.

Designers can configure the board to be controlled by a host controller via a simple MCU connector or operate stand-alone mode.

Features

  • Based on the fully-certified BLUETOOTH® 4.2 BM63 stereo audio module
  • On-board MCU (PIC18F85J10) and DSP audio amplifier for easy operation and feature demonstration
  • Powered by a PC host using the micro-USB cable or by connecting a Li-Ion battery
  • Built-in 3W Class-D stereo audio amplifier
  • Built-in Near Field Communication (NFC)
  • Stereo audio output for high-quality audio
  • Easy access to I/O pins
  • Connection and data status LEDs

Kit Contents

  • One BM-63-EVB, which contains the BM63SPKA1MGA-0001AC
  • One micro-USB cable
  • Two speaker cables
  • One 5V DC power adapter

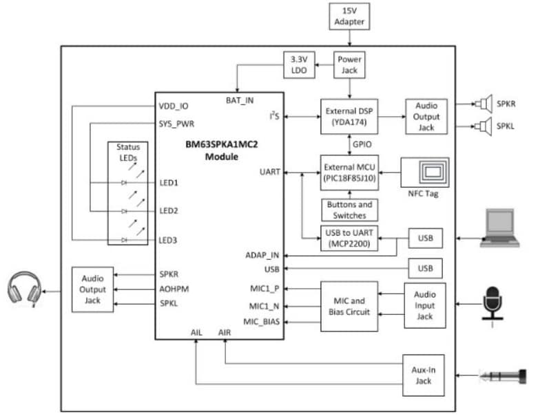
BM63 Evaluation Board Block Diagram

Block Diagram - Microchip Technology BM63 BLUETOOTH® Audio Evaluation Board

BM63 Evaluation Board Board Layout

Schematic - Microchip Technology BM63 BLUETOOTH® Audio Evaluation Board

On the Board Modules

1. BM63SPKA1MC2 module
2. Three status LEDs
3. NFC tag
4. Mode switch (SW9)
5. USB connector (P9)
6. USB to UART converter (MCP2200)
7. UART port over USB connector (P3)
8. Onboard MCU (PIC18F85J10)
9. ICSP header (J5)
10. Audio control buttons, Multi-Function Button (MFB), and pairing mode button
11. 15V adapter jack (P2)
12. Internal/external MCU selection switch (SW46)
13. Internal/external DSP audio amplifier selection switch (SW47)
14. On-board DSP (YDA174) with built-in audio amplifier
15. Audio connector (CN1 and CN2)
16. External MCU/DSP header (J6)
17. Auxiliary input 3.5mm jack (P8)
18. Microphone input 3.5mm jack (P6)
19. Speaker output 3.5mm jack (P7)
20. Reset button for the BM63 module (SW10)
21. Reset button for MCU (SW1)

Publicerad: 2016-09-12 | Uppdaterad: 2022-03-11