Microchip Technology MCP23x17 I/O Expanders
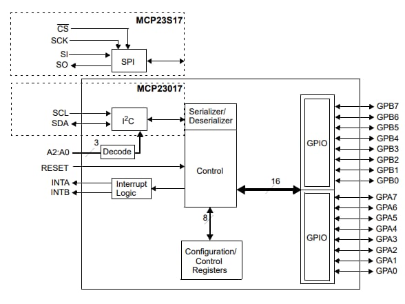
Microchip Technology MCP23x17 I/O Expanders feature a 16-bit general-purpose parallel bi-directional I/O port with a high-speed I2C interface. These I/O expanders come with three hardware address pins that allow up to eight devices on the bus and configurable interrupt output pins. The hardware pins are used to determine the device address. The MCP23x17 expanders consist of multiple 8-bit configuration registers for input, output, and polarity selection. These MCP23x17 I/O expanders offer two interrupt pins, INTA and INTB, that will activate if either port causes an interrupt.Features
- I/O pins default to input in 16-bit remote bidirectional I/O port
- High-speed I2C interface (MCP23017):
- 100kHz
- 400kHz
- 1.7MHz
- 10MHz (maximum) high-speed SPI interface (MCP23S17)
- Three hardware address pins to allow up to eight devices on the bus
- Interrupt output pins configurable as active-high, active-low or open-drain
- INTA and INTB can be configured to operate independently or together
- Interrupt-on-change from the configured register defaults or pin changes
- Polarity inversion register to configure the polarity of the input port data
- External reset input
- Low standby current: 1µA (maximum)
- Operating voltage:
- 1.8V to 5.5V @ -40°C to +85°C
- 2.7V to 5.5V @ -40°C to +85°C
- 4.5V to 5.5V @ -40°C to +125°C
Functional Block Diagram
Publicerad: 2019-12-24
| Uppdaterad: 2023-06-12
