Microchip Technology PIC12F157x 8-Bit Microcontrollers
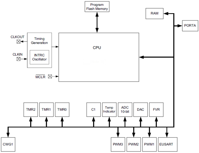
Microchip's PIC12F157X 8-Bit Microcontrollers combine the capabilities of 16-bit PWMs with Intelligent Analog to suit a variety of applications. These devices deliver three 16-bit PWMs with independent timers, for applications where high resolution is needed, such as LED lighting, stepper motors, power supplies, and other general-purpose applications. The core independent peripherals (16-bit PWMs, Complementary Waveform Generator), Enhanced Universal Synchronous Asynchronous Receiver Transceiver and Intelligent Analog (ADCs, Comparator, and DAC) enable closed-loop feedback and communication for use in multiple market segments, such as LIN applications.Features
- Enhanced Mid-range Core with 49 Instruction, 16 Stack Levels
- Flash Program Memory with self-read/write capability
- High Endurance Flash memory in lower byte of last 128 addresses of Program Memory (100,000 Writes min.)
- Internal clock speeds from 31kHz to 32MHz
- 3x Standalone 16-bit PWM Modules
- Complementary Waveform Generator (CWG) Module
- 4 Channel 10-bit ADC with Voltage Reference
- 5-bit Digital to Analog Converter (DAC)
- Comparator
- 2x 8-bit Timers (TMR0/TMR2)
- 1x 16-bit Timer (TMR1)
- Three additional 16-bit Timers available using the 16-bit PWMs
- Extended Watchdog Timer (WDT)
- Enhanced Power-On/Off-Reset
- Low-Power Brown-Out Reset (LPBOR)
- Programmable Brown-out Reset (BOR)
- In-Circuit Serial Programming (ICSP)
- Enhanced Universal Synchronous Asynchronous Receiver Transceiver (EUSART) (PIC12F1572 only)
- PIC12LF1571 (1.8V - 3.6V)
- PIC12F1571 (2.3V - 5.5V)
Block Diagram
Publicerad: 2014-03-05
| Uppdaterad: 2022-03-11
