Microchip Technology PIC16(L)F1847 Flash MCUs
Microchip PIC16(L)F1847 Flash MCUs are designed with an enhanced mid-range 8-bit CPU core with 49 instructions, 16 stack levels, and in-circuit debugging. These MCUs feature precision 32MHz internal oscillator block, ADC module, analog comparator, voltage reference model, programmable code protection, and data signal modulator module. The reference clock module enables sending a divided clock to the clock-output pin (CLKR) and provides a secondary internal clock source to the modulator module. The oscillator module has various clock sources and selection features, allowing it to be used in various applications while maximizing performance and minimizing power consumption. The PIC16(L)F1847 flash MCUs have a Capture/Compare/PWM peripheral module, which allows users to time and control different events and generate PWM signals. The debugging and programming support is available via PICkit™ 3 and MPLAB® ICD 3.Features
- High-performance RISC CPU
- C compiler optimized architecture
- 256 bytes of data EEPROM
- Up to 14kb linear program memory addressing
- Up to 1024 bytes of linear data memory addressing
- Interrupt capability with automatic context saving
- Direct, indirect, and relative addressing modes
- Flexible oscillator structure
- Precision 32MHz internal oscillator block
- 31kHz low-power internal oscillator
- Up to 32MHz four crystal modes
- Two-speed oscillator start-up
- Fail-safe clock monitor
- Special MCU features
- 1.8V to 5.5V operating voltage for PIC16F1847
- 1.8V to 3.6V operating voltage for PIC16LF1847
- Self-programmable under software control
- Power-on Reset (POR), Power-up Timer (PWRT), and Oscillator Start-up Timer (OST)
- Programmable Brown-out Reset (BOR)
- Extended Watchdog Timer (WDT)
- Programmable code protection
- In-circuit serial programming™ (ICSP™) via two pins
- In-Circuit Debug (ICD) via two pins
- Enhanced low-voltage programming
- Power-saving sleep mode
- Extreme low-power management PIC16LF1847 with XLP
- Sleep mode - 20nA @ 1.8V
- Watchdog timer - 300nA @ 1.8V
- Time1 oscillator - 650nA @ 32kHz
- Operating current: 65µA/MHz @ 1.8V
- Analog-to-Digital Converter (ADC) module
- Analog comparator module
- Voltage reference module
- 15 I/O pins and 1 input-only pin
- Four 8-bit timers (TMR0/TMR2/TMR4/TMR6)
- One 16-bit timer (TMR1)
- Extended Watchdog Timer (EWDT)
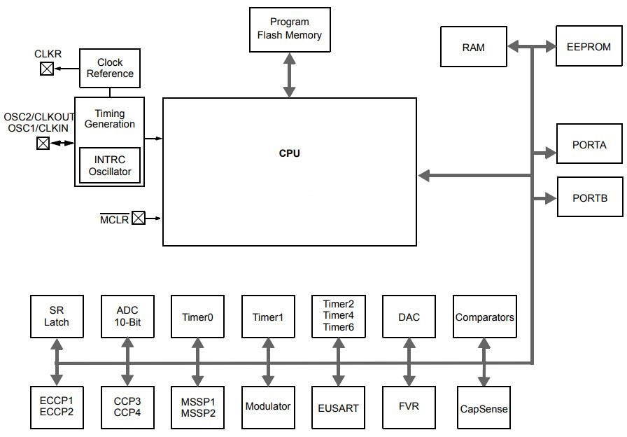
PIC16(L)F1847 Flash MCUs Block Diagram
Additional Resources
Publicerad: 2018-03-29
| Uppdaterad: 2022-10-03
