Nexperia NXS0506/GU-Q100 Bidirectional Level Translators
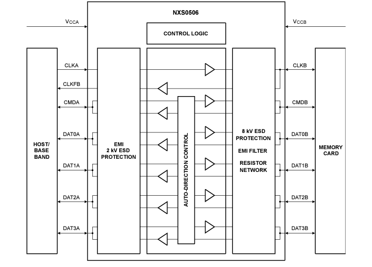
Nexperia NXS0506/GU-Q100 Bidirectional Dual Supply Level Translators support SD 3.0 including SDR104, SDR50, DDR50, SDR25, SDR12, SD 2.0 high-speed (50MHz), and default-speed (25MHz) modes. The NXS0506/GU-Q100 is designed to interface between a memory card operating at 1.7V to 3.6V and a host with a supply voltage of 1.1V to 1.95V. The devices have a built-in EMI filter and robust ESD protection (IEC 61000-4-2, level 4).Typical applications include smartphones, mobile handsets, digital cameras, tablet PCs, laptop computers, and SD/MMC/MicroSD card readers.
The NXS0506GU-Q100 has been qualified for the Automotive Electronics Council (AEC) standard Q100 (Grade 2) and is suitable for use in automotive applications.
Features
- Automotive product qualification in accordance with AEC-Q100 Grade 2 (NXS0506GU-Q100)
- Specified from -40°C to +85°C and from -40°C to +105°C (NXS0506GU-Q100)
- Supports up to 208MHz clock rate
- SD 3.0 specification-compatible voltage translation to support: SDR104, SDR50, DDR50, SDR25, SDR12, High-Speed and Default-Speed modes
- 1.1V to 1.95V host-side interface voltage support
- Auto-direction sensing
- Low power consumption
- Integrated pull-up resistors: no external resistors required
- Integrated EMI filters suppress higher harmonics of digital U/Os
- Level-shifting buffers keep ESD stress away from the host (zero-damping concept)
- 16-bumps WLCSP16 package; pitch 0.35mm
- 16-terminal XQFN16 package; pitch 0.4mm
- Latch-up performance exceeds 100mA per JESD78 Class II.A
- ESD protection
- HBM: ANSVESDA/JEDEC JS-001 class 2 exceeds 2kV
- CDM: ANSW/ESDA/JEDEC JS-002 class C3 exceeds 1kV
- IEC61000-4-2, level 4, contact discharge on all memory card-side pins exceeds 8kV
- IEC61 000-4-2, level 4, air discharge on all memory card-side pins exceeds 15kV
Applications
- Automotive
- Smartphone
- Mobile handsets
- Digital cameras
- Tablet PCs
- Laptop computers
- SD/MMC/MicroSD card readers
Datasheets
Block Diagram
Functional Diagram
Publicerad: 2022-04-28
| Uppdaterad: 2024-10-03
