The M031/M032 MCUs supply a solution for applications that require a 1.8V low-voltage interface connection, an improved fast 2MSPS conversion rate 12-bit ADC, comparators, and up to 24-channel 96MHz/144MHz PWM control. The devices support quick and precise data conversion for the voltage, current, and sensor data and fast response control to the external device. The M031/M032 also supplies many peripherals, including a Universal Serial Control Interface (USCI) that can be set as UART/SPI/I2C flexibly, up to 10 sets of UART, four sets of SPI, four sets of I2C, and 1-wire UART interface for data communication between master and slave devices.
The Nuvoton M032 series is based on the M031 series and enhanced with the crystallized USB 2.0 full-speed device feature for USB-related applications.
The M031/M032 series provides a Flash size of 16Kbytes to 512Kbytes and an SRAM size from 2Kbytes to 96Kbytes. Packages range from small form factor TSSOP 20-pin, TSSOP 28-pin, QFN 33-pin, LQFP 48-pin to LQFP 64-pin and LQFP 128-pin that are pin-compatible for different part numbers.
Key Features Support Table
Features
- Arm Cortex-M0 processor, running up to 72MHz
- 72MHz at 2.0V to 3.6V
- 48MHz at 1.8V to 3.6V
- Built-in Nested Vectored Interrupt Controller (NVIC)
- 24-bit system tick timer
- Programmable and maskable interrupt
- Low power sleep mode by WFI and WFE instructions
- Two-level BOD with brown-out interrupt and reset option (2.5V/2.0V)
- Low Voltage Reset (LVR) with 1.7V threshold voltage level
- Security
- 96-bit Unique ID (UID)
- 128-bit Unique Customer ID (UCID)
- Signed (two’s complement) integer calculation
- 32-bit dividend with 16-bit divisor calculation capacity
- 32-bit quotient and 32-bit remainder outputs (16-bit remainder with sign extends to 32-bit)
Applications
- Laser distance meter
- Air detector/cleaner
- Mobile LCD panel controller
- IoT sensing device
- HMI controller
- Micro printer
- Gaming keyboard and mouse
- WPC wireless charger
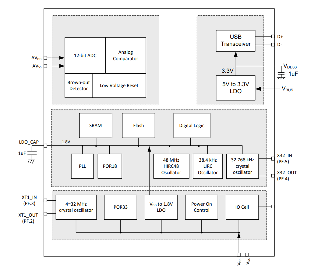
Functional Block Diagram
M031 System Power Distribution Diagram

