NXP Semiconductors PF1550 PMICs
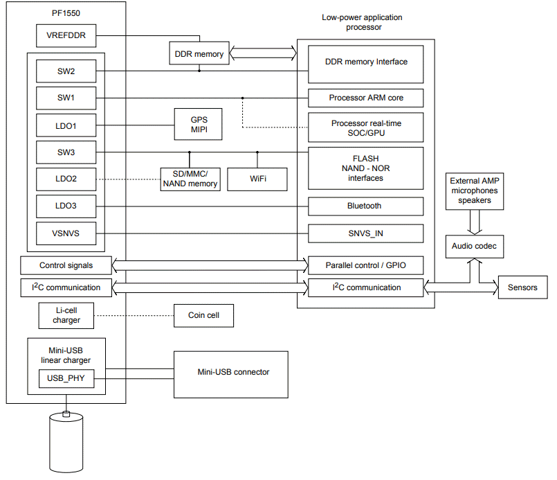
NXP Semiconductors PF1550 Power Management Integrated Circuits (PMICs) are designed for use with i.MX processors on low-power portable, smart wearable, and Internet of Things (IoT) applications. These PMICs provide a full power solution to i.MX 7ULP, i.MX 6SL, 6UL, 6ULL, and 6SX processors. NXP PF1550 PMICs, in combination with three high-efficiency buck converters, three linear regulators, an RTC supply, and a battery linear charger, provide power for a complete battery-powered system. These PMICs feature 3 user-programmable LDO regulators, I2C interface, a DDR termination reference voltage, and a 1A linear Li-Ion battery charger. Typical applications include home automation, e-readers, smart mobiles, IoT, wireless game controllers, and embedded monitoring systems.Features
- 4.1V to 6V input voltage range to PMIC VBUSIN pin via USB bus, or AC adapter
- Buck converters
- Internal digital soft start
- 1μA quiescent current in ULP mode with light load
- >90% peak efficiency
- Dynamic voltage scaling on SW1 and SW2
- Modes
- Forced PWM quasi-fixed frequency mode
- Adaptive variable-frequency mode
- Programmable output voltage, current limit, and soft start
- LDO regulators
- <1.5μA quiescent current in low-power mode
- Programmable output voltage
- Soft start and ramp
- Current limit protection
- Battery charger
- Supports single-cell Lithium-ion/Lithium-polymer batteries
- Linear charging
- Integrated 50m battery isolation MOSFET
- Battery supplement mode
- Up to 3A battery discharge over-current protection
- Programmable LED driver
- JEITA compliant battery temperature sensing and charger control
- LDO/switch supply
- 3V, 2mA RTC supply VSNVS
- Coin cell charger
- 0.5 to 0.9V, and 10mA DDR memory reference voltage, VREFDDR
- One-time programmable (OTP) memory for device configuration
- User programmable start-up sequence, timing, soft-start, and power-down sequence
- Programmable regulator output voltages and charger parameters
- I2C interface
- User programmable standby, sleep/low-power, and off (REGS_DISABLE) modes
- -40°C to +105°C ambient temperature range
Applications
- Smart mobiles/wearable devices
- Low-power IoT
- Wireless game controllers
- Home automation
- Embedded monitoring systems
- POS
- E-readers
Functional Block Diagram
Block Diagram
Application Circuit
Publicerad: 2018-08-07
| Uppdaterad: 2024-11-12
