onsemi NCV7446 Dual CAN FD Transceiver
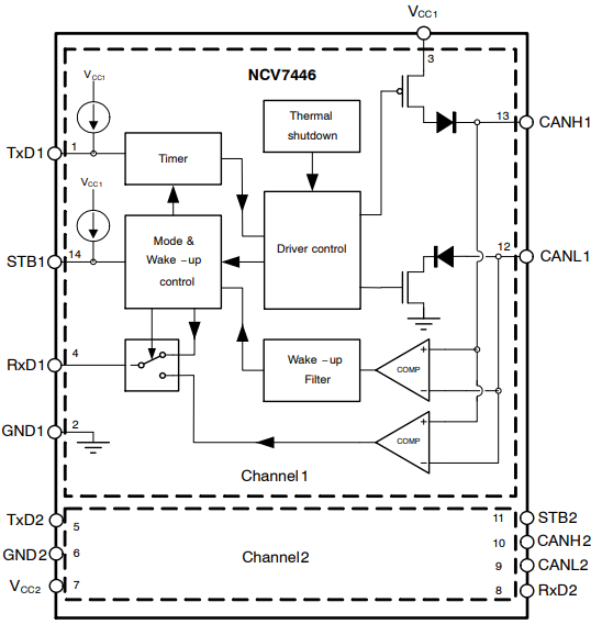
onsemi NCV7446 Dual Control Area Network (CAN) Flexible Data (FD) Transceiver is a two-channel physical layer transceiver. This transceiver allows interfacing two independent CAN physical buses and two independent CAN protocol controllers. The NCV7446 transceiver offers differential transmit capability to the bus and differential receive capability to the CAN controllers. This transceiver consists of two fully independent NCV7344 transceivers. The NCV7446 transceiver guarantees additional timing parameters to ensure robust communication at data rates beyond 1Mbps. onsemi NCV7446 is suitable for all types of HS-CAN network nodes requiring a low-power mode with wake-up capability via the CAN bus.Features
- Offers high speed and low power
- Dual CAN FD physical layer transceiver
- Provides
- Differential transmit capability to the bus
- Differential receive capability to the CAN controllers
- Up to 5Mbps CAN FD timing
- Very low current standby mode with wake-up via the bus
- Low electromagnetic emission (EME) and high electromagnetic immunity
- No disturbance of the bus lines with an un-powered node
- Transmit data (TxD) dominant timeout function
- The chip behaves predictably under all supply conditions
- Very high ESD robustness of the bus pins
- Thermal protection
- Bus pins are short circuit proof to supply voltage and ground
- Bus pins are protected against transients in an automotive environment
- Compliant with the ISO 11898-2:2016 standards
- AEC-Q100 qualified and PPAP capable
Applications
- Automotive
- Industrial networks
Additional Resource
Block Diagram
Application Circuit Diagram
Publicerad: 2020-06-08
| Uppdaterad: 2025-02-26
