onsemi NCV8461 Self-Protected High-Side Driver
onsemi NCV8461 Self-Protected High-Side Driver with temperature shutdown and current limit is used to switch loads such as solenoids, bulbs, and activators. This driver includes CMOS (3V/5V) compatible control input and thermal shutdown with automatic restart. The NCV8461 high-side driver features off-state open load detection, ESD protection, very low standby current, open drain diagnostic output, and undervoltage shutdown function. This driver is Pb-free and AEC-Q100 qualified. The NCV8461 high-side driver is used to replace electromechanical relays and discrete circuits. This driver is ideal for industrial and automotive requirements.Features
- CMOS (3V/5V) compatible control input
- Thermal shutdown with automatic restart
- Off-state open load detection
- ESD protection
- Very low standby current
- Open drain diagnostic output
- Loss of ground and loss of VD protection
- Reverse battery protection (with external resistor)
- Undervoltage shutdown
- 5V to 34V operating voltage range
- -40°C to 150°C operating temperature range
- Short circuit protection
- AEC-Q100 qualified
Applications
- Switch resistive, inductive, and capacitive loads
- Replace electromechanical relays and discrete circuits
- Automotive
- Industrial requirements
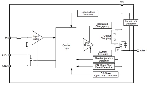
Block Diagram
Publicerad: 2024-12-09
| Uppdaterad: 2024-12-24
