Nexperia NCA95xx I2C GPIO Expanders
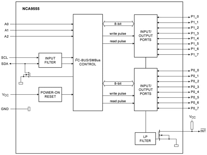
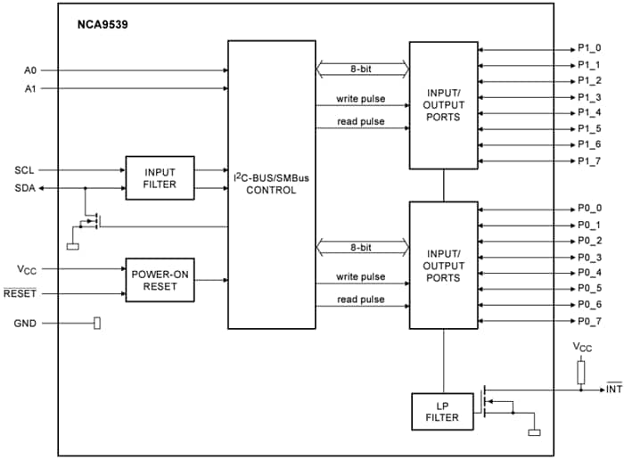
Nexperia NCA95xx I2C General-Purpose I/O (GPIO) Expanders provide an elegant solution when additional I/Os are needed while keeping the interconnections to a minimum. Housed in TSSOP24 and HWQFN24 packages, these GPIO expanders have multiple features like interrupts, hardware RESET, internal pull-up resistors, and configurable pull-ups. These Nexperia NCA95xx GPIO expanders feature benefits such as extremely low static power consumption and reduced PCB design complexity through trace reduction and routing simplification, thereby reducing the BOM cost.Features
- Single supply GPIO expander supporting operating power supply voltage range of 1.65V to 5.5V operation
- Serial to parallel (SDA to P0-P16) and parallel to serial (P0-P16) conversion with I2C protocol
- Schmitt-trigger action allows slow input transition and better switching noise immunity at the SCL and SDA inputs
- Low power consumption of 2.5µA maximum
- 400kHz operation (FM I2C mode)
- Glitch-free power-up with all channels configured as inputs with weak pull-up resistors
- 5V tolerant I/Os and 16 I/Os pins, which defaults to 16 inputs
- Latched outputs with 25mA drive maximum capability for directly driving LEDs
- Polarity inversion register
- External RESET pin to reset state machine and internal registers
- Noise filters on SCL and SDA inputs
- TSSOP24 and HWQFN24 packages
- Specified from -40°C to +85°C and -40°C to +125°C
Applications
- Servers and routers
- TV and hardware control monitors
- Gaming consoles and drones
- Battery powered applications
- Automotive applications (ADAS, VCU, DCU, and BCM)
- Surveillance cameras
- Telecomm equipment
View Results ( 8 ) Page
| Artikelnummer | Datablad | Paket/låda | Maximal klockfrekvens | Antal I/O |
|---|---|---|---|---|
| NCA9539BYHP | ![]() |
HWQFN-24 | ||
| NCA9555BY-Q100HP | ![]() |
HWQFN-24 | 100 kHz, 400 kHz | 16 I/O |
| NCA9535PWJ | ![]() |
TSSOP-24 | 400 kHz | 16 I/O |
| NCA9539PW-Q100J | ![]() |
TSSOP-24 | 400 kHz | 16 I/O |
| NCA9539PWJ | ![]() |
TSSOP-24 | 400 kHz | 16 I/O |
| NCA9535BY-Q100HP | ![]() |
HWQFN-24 | ||
| NCA9555BYHP | ![]() |
HWQFN-24 | 100 kHz, 400 kHz | 16 I/O |
| NCA9535PW-Q100J | ![]() |
TSSOP-24 | 400 kHz | 16 I/O |
Publicerad: 2023-05-11
| Uppdaterad: 2025-04-17

