Texas Instruments TCA9537 Remote 4-Bit I²C & SMBus I/O Expander
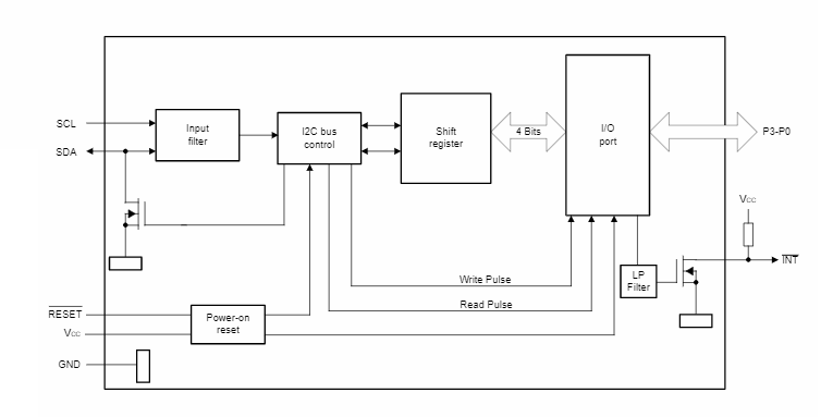
Texas Instruments TCA9537 Remote 4-Bit I2C and SMBus I/O Expander offers a 1.65V to 5.5V VCC operation and general-purpose remote I/O expansion via the I²C interface. The system controller enables the I/Os as either inputs or outputs by writing to the I/O configuration register bits. The data for each input or output is stored in the corresponding input or output register. The polarity of the Input Port register can be inverted with the Polarity Inversion register.The TI TCA9537 I/O Expander provides open-drain interrupt output (INT) that is activated when any input differs from its corresponding Input Port register state and is used to indicate to the system controller that an input state has changed. The system processor can reset the TCA9537 in the event of a timeout or other improper operation by using an I2C soft reset command, which puts the registers in a default state or using the RESET pin.
Features
- I2C to GPIO expander
- Operating power-supply voltage range of 1.65V to 5.5V
- 5V Tolerant I/O ports
- Software Reset via I2C General Call
- RESET input pin for external reset control
- Dedicated INT output
- 1MHz Fast mode plus I2C bus
- Input and output configuration register
- Polarity inversion register
- Internal power-on reset
- Power-up with all channels configured as inputs
- Noise filter on SCL and SDA inputs
- Latched outputs with high-current drive maximum capability for directly driving LEDs
- ESD protection exceeds JESD 22
- 2000V Human-body model (A114-A)
- 1000V Charged-device model (C101)
Applications
- Personal electronics
- Wearables
- Mobile phones
- Gaming consoles
- Servers
- Routers
Simplified Schematic
Logic Diagram
Publicerad: 2022-04-10
| Uppdaterad: 2022-06-02
