Semtech GS12182 Re-timing Cable Drivers
Semtech GS12182 Re-timing Cable Drivers are low-power and multi-rate cable drivers that support rates of up to 12G UHD-SDI, inclusive of 10GbE. These drivers receive 100Ω differential input signals, automatically recover the embedded clock from the digital video signal and re-time the incoming data. These cable drivers then transmit the re-timed signal over 75Ω coaxial cables. The GS12182 cable drivers consist of an integrated eye monitor that provides non-disruptive mission mode analysis of the post equalized input signal. These cable drivers offer GSPI serial control and monitoring interface, 2.5V or 3.3V for cable driver output supply, and four configurable GPIO pins. Typical applications include cameras, switchers, distribution amplifiers, and routers.Features
- Dual input/output re-timing cable driver with 2:1 input selector and on-chip termination
- SMPTE ST 2082-1, ST 2081-1, ST 424, ST 292-1, and ST 259 compliant input/output
- Multi-standard operation from 1Mb/s to 11.88Gb/s
- Supports re-timing of DVB-ASI at 270Mb/s and MADI at 125Mb/s and 10GbE
- 3D input signal eye monitor
- PRBS generator and checker
- Cable driver
- Wide swing control
- Pre-emphasis to compensate for significant insertion loss between device output and BNC
- Automatic/manual output slew rate control
- Manual or automatic re-timer bypass
- Manual or automatic Mute or disable on LOS
- Integrated 75Ω single-ended output termination
- Trace equalizer
- Integrated 100Ω differential input termination
- Automatic power down on loss of signal
- Trace equalization to compensate for up to 20” FR4 at 11.88Gb/s
- Automatic input offset compensation
- CDR
- Manual or automatic rate modes
- Wide Loop bandwidth control
- Re-timing at 125Mb/s, 270Mb/s, 1.485Gb/s, 2.97Gb/s, 5.94Gb/s, 11.88Gb/s, and 10.3125 Gb/s
Applications
- Cameras
- Switchers
- Distribution amplifiers
- Routers
Specifications
- Single 1.8V power supply for analog and digital core
- 2.5V or 3.3V for cable driver output supply
- GSPI serial control and monitoring interface
- 4x configurable GPIO pins for control or status monitoring
- -40°C to +85°C wide operating temperature range
- 6mm x 4mm 40-pin QFN
- Pin compatible with the GS12181, GS12281, GS12081, and GS3281
- Lead-free and halogen-free
- RoHS compliant and WEEE compliant
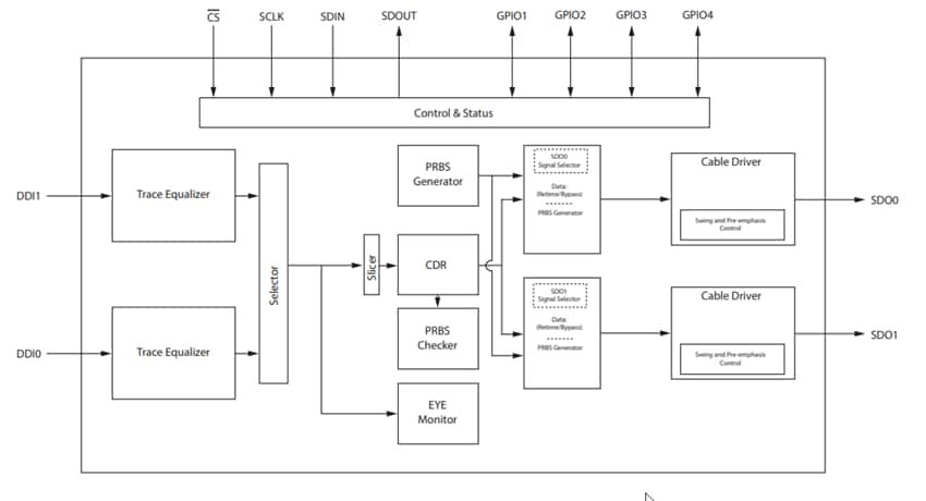
Block Diagram
Typical Application Circuit
Publicerad: 2019-11-27
| Uppdaterad: 2023-06-14
