STMicroelectronics L99LDLH32 32-Channel LED Driver with CAN FD Light

STMicroelectronics L99LDLH32 32-Channel LED Driver is a monolithic linear current regulator optimized for automotive exterior OLED rear lighting applications. The high side configuration of the L99LDLH32 Driver's output channels enables the device to drive OLED panels with a common cathode. The L99LDLH32 provides up to 35V output driving capability, ideal for the wide spread of OLED forward voltage requirements. The device also features 32 regulated current sources able to provide from 1mA up to 15mA individually programmable current to drive each pixel of the OLED panel independently. 

The L99LDLH32 Driver integrates a robust, purely automotive CAN FD Light compatible communication interface, which allows a high data transmission rate (up to 1Mbit/s) and uses CAN FD structure for long frames. Besides the CAN FD Light compatible physical layer, the device also integrates the protocol handler, so no additional external devices are needed to facilitate communication with Commander ECU. The L99LDLH32 can operate in bus mode using CAN FD Light compatible interface or in stand-alone/fail-safe mode using internal Few Time Programmable (FTP) memory registers.

The STMicroelectronics L99LDLH32 32-Channel LED Driver is offered in a QFN48L package with an exposed pad for enhanced thermal performance. This device is AEC-Q100 qualified for use in automotive applications.

Features

  • AEC-Q100 qualified
  • CAN FD Light compatible Serial Interface, Protocol Handler, Draft Specification Proposal (DSP) available from CAN in Automation (CiA)
  • High precision oscillator integrated, no external quartz required
  • Timeout watchdog with Limp Home
  • Low standby current
  • Stand Alone, Fail Safe, and Bus mode operation
  • Direct drive (1 Direct Input) for 1 function group supporting ASIL requirements
  • Widest configurability by embedded non-volatile and volatile memories
  • 5.5V to 40.0V operating supply voltage range
  • 32 constant current output channels, high side configuration
  • Output current from 1mA to 15mA, parallelable outputs
  • Output voltage up to 35V
  • Current setting per channel by 8-bit DAC
  • Feedback voltage to external pre-regulator to optimize the regulation voltage minimizing overall power dissipation
  • Analog dimming, 8-bit PWM channel individual exponential brightness control, and 8-bit global PWM dimming
  • Programmable PWM frequency
  • Slow turn on/off time, gradual outputs delay, and dithered clock for better EMC performances
  • Integrated 8-bit ADC for full and flexible diagnostic
  • Dedicated line for fault bus
  • Temperature warning (1 threshold)
  • Over-temperature shutdown
  • Short circuit and open load detection and protection
  • Automatic LED current derating through external NTC measurement and device junction temperature (TJ)
  • -40°C to +150°C operating temperature range
  • 7.0mm x 7.0mm QFN48L package with exposed pad

Applications

  • Automotive OLED rear lighting
  • Automotive ambient lighting

Videos

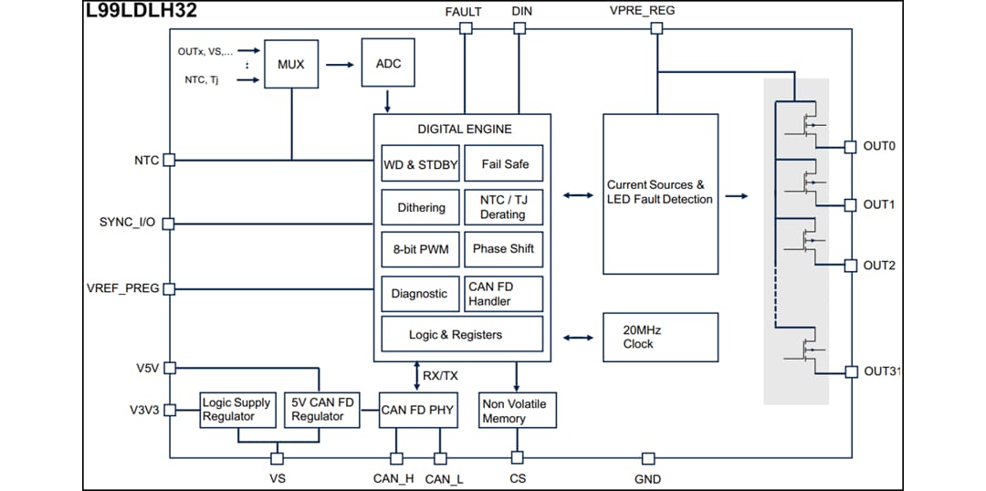
Block Diagram

Block Diagram - STMicroelectronics L99LDLH32 32-Channel LED Driver with CAN FD Light

Typical Application Circuit

Application Circuit Diagram - STMicroelectronics L99LDLH32 32-Channel LED Driver with CAN FD Light
Publicerad: 2022-08-01 | Uppdaterad: 2024-08-05