STMicroelectronics LIS3DH 3-Axes Nano Accelerometer
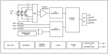
The STMicroelectronics LIS3DH/E ultra low-power high performance three axes nano accelerometer features digital I²C / SPI serial interface standard output. The LIS3DH/E three axes accelerometer features ultra low-power operational modes that allow advanced power saving and smart embedded functions.The STMicroelectronics LIS3DH/E accelerometer has dynamically user selectable full scales of ±2g / ±4g / ±8g / ±16g and is capable of measuring applications with output data rates from 1Hz to 5kHz.
Features
- Wide supply voltage, 1.71V to 3.6V
- Independent IOs supply (1.8V) and supply voltage compatible
- Ultra low-power mode consumption down to 2μA
- ±2g/±4g/±8g/±16g dynamically selectable full-scale
- I²C/SPI digital output interface
- 16 bit data output
- 2 independent programmable interrupt generators for free-fall and motion detection
- 6D/4D orientation detection
- Free-fall detection
- Motion detection
- Embedded temperature sensor, embedded self-test, embedded 96 levels of 16 bit data output FIFO
- 10000 g high shock survivability
- ECOPACK® RoHS and "Green" compliant
Applications
- Motion activated functions
- Free-fall detection
- Click/double click recognition
- Intelligent power saving for handheld devices
- Pedometer
- Display orientation
- Gaming and virtual reality input devices
- Impact recognition and logging
- Vibration monitoring and compensation
Direction of Detectable Accelerations (Top View)
Additional Resources
Publicerad: 2011-01-17
| Uppdaterad: 2023-11-01
