Texas Instruments ADC12DJ5200RF 12-Bit Analog-to-Digital Converter

Texas Instruments ADC12DJ5200RF 12-Bit Analog-to-Digital Converter (ADC) can sample two channels at 5.2G sample/s that can be interleaved into a single 10.4Gsample/s channel. That is two channels of 12bit 2.6GHz instantaneous bandwidth or one of 5.2GHz instantaneous bandwidth. The ADC is made on a 65nm pure CMOS process, not SiGe, which offers a good compromise between analog and digital performance.

The chip offers a JESD244C interface for connection to a host FPGA, providing more data efficiency and cost savings on the FPGA side as an FPGA with fewer Gbit/s serdes [serializer-deserializer] lanes can be used. 16 or 8 lanes are available – up to 16 at 10.4Gbit/s or up to 17.1Gbit/s over eight lanes. The Texas Instruments ADC12DJ5200RF features an analog input bandwidth of 8GHz (3dB 800mVpp), and the input is usable up to 10GHz. The input impedance is controlled at 100Ω differential and calibrated when switched on. An integrated dither option can improve linearity or distortion performance in some applications.

Other features include high dynamic performance across power-supply variations, an offset error as low as ±300µV, and zero temperature drift. Power consumption is 4W, including the fast data interfaces, and it comes in a 10mm x 10mm 144-ball BGA, which is pin-compatible with the slower ADC12DJ3200, ADC12DJ2700 or ADC08DJ3200. Applications are expected in 5G testing, oscilloscopes, and radar (for direct X-band sampling). The ADC12DJ5200-EP devices have gold bond wires, a temperature range of –55 to +105°C, and an SnPb lead finish.

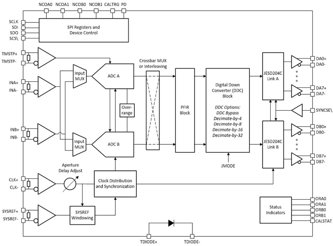
Functional Block Diagram

Block Diagram - Texas Instruments ADC12DJ5200RF 12-Bit Analog-to-Digital Converter
Publicerad: 2019-11-06 | Uppdaterad: 2025-02-24