Texas Instruments ADS130B04-Q1 4-Channel 32kSPS Delta-Sigma ADC

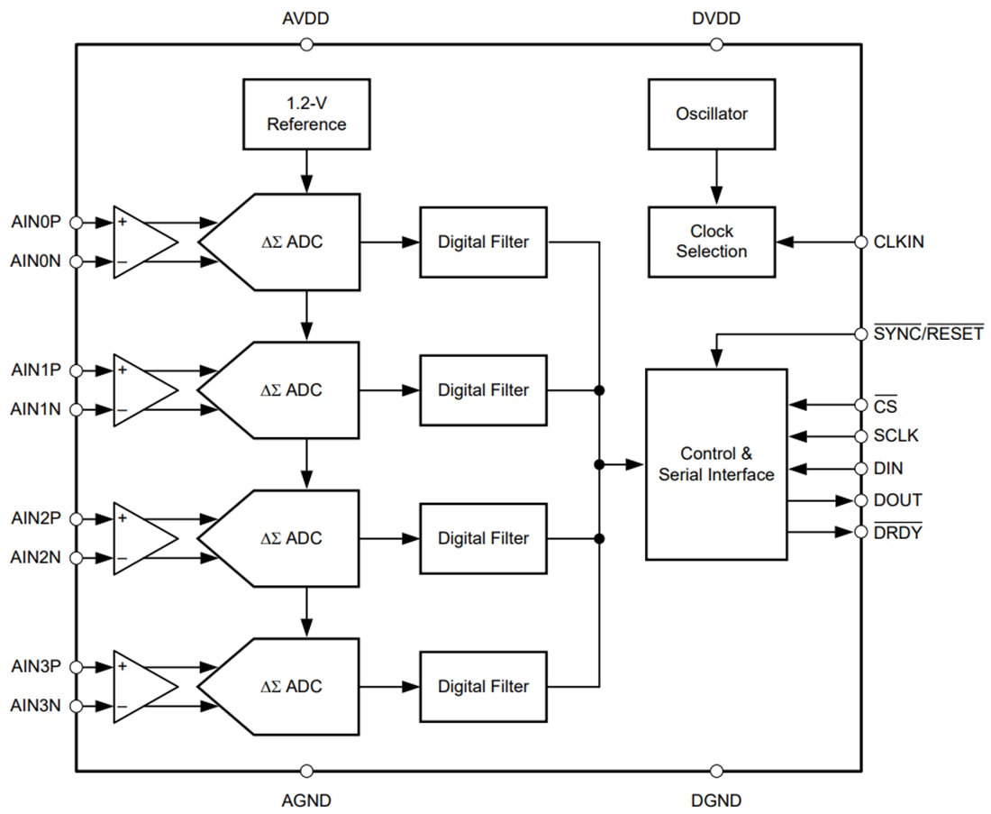
Texas Instruments ADS130B04-Q1 4-Channel 32kSPS Delta-Sigma (ΔΣ) Analog-to-Digital Converter (ADC) offers wide dynamic range, low power, and buffered analog inputs. These features make the device an excellent fit for automotive battery management systems (BMS). The ADC inputs can be directly interfaced to shunt resistors for bidirectional battery-current measurements, resistor-divider networks for high-voltage measurements, or temperature sensors (such as thermistors or analog output temperature sensors).

The Texas Instruments ADS130B04-Q1 individual ADC channels can be independently configured depending on the sensor input. A low-noise, programmable gain amplifier (PGA) provides gains ranging from 1 to 128 to amplify low-level signals. The device features a global-chop mode to remove offset drift over temperature and time. A low-drift, 1.2V reference, and precision oscillator are integrated into the device, reducing the printed circuit board (PCB) area. Optional cyclic redundancy checks (CRCs) on the data input, data output, and register map maintain communication integrity.

The complete analog front-end (AFE) is offered in a 20-pin TSSOP package and is specified over the automotive temperature range of –40°C to +125°C.

Features

  • AEC-Q100 qualified for automotive applications
    • –40°C to +125°C, TA temperature grade 1
  • Functional Safety-Capable
    • Documentation available to aid functional safety system design
  • 2-simultaneous-sampling, differential input ADCs
  • Programmable data rate: Up to 32kSPS
  • Programmable gain: Up to 128
  • Global-chop mode to remove offset drift over temperature and time
  • High-impedance analog inputs for direct sensor connection
  • Integrated negative charge pump allows input signal measurements below ground
  • –120dB crosstalk between channels
  • 1.2V low-drift internal reference
  • Precision internal oscillator
  • CRC on communications and register map
  • 2.7V to 3.6V analog and digital supplies
  • 3mW at 3.3V AVDD and DVDD low power consumption

Applications

  • Automotive battery management systems (BMS)
    • Current-shunt measurements
    • Voltage measurements using external resistor dividers
    • Temperature measurements using thermistors or analog output temperature sensors
  • EV charging stations
    • DC e-metering
  • Energy storage systems (ESS)

Functional Block Diagram

Block Diagram - Texas Instruments ADS130B04-Q1 4-Channel 32kSPS Delta-Sigma ADC
Publicerad: 2022-01-18 | Uppdaterad: 2025-03-05