Texas Instruments AFEx32A3W Current-Source Smart Analog Front-End
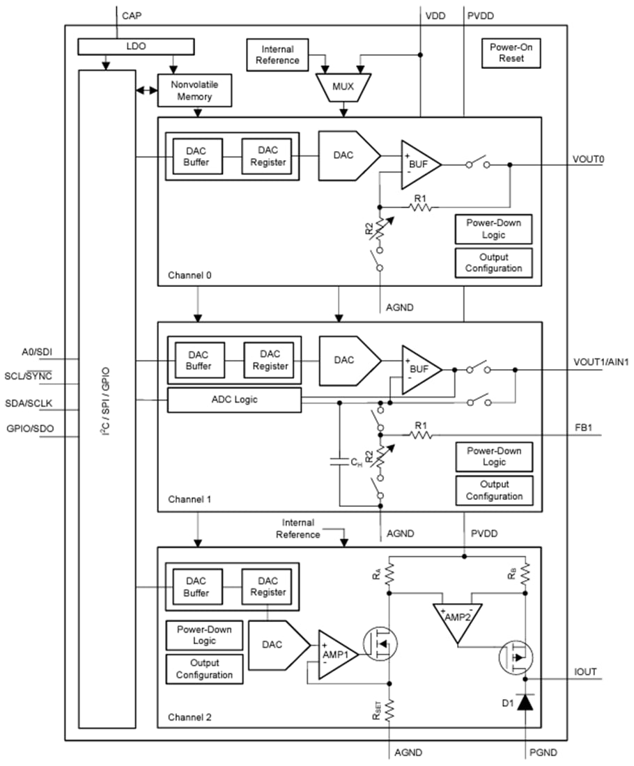
Texas Instruments AFEx32A3W Current-Source Smart Analog Front-End (AFE) is a three-channel, buffered voltage-output, current-output, and ADC-input smart AFE. The AFEx32A3W devices support a current source that can be used for linear control of laser diodes and miniature motors. These devices support Hi-Z power-down mode and Hi-Z output during power-off conditions for voltage output. Channel 1 can be configured as an ADC, voltage-output DAC, or comparator. The voltage-output DACs provide a force-sense option for use as a programmable comparator and current sink. The multifunction GPIO, function generation, and programmable nonvolatile memory (NVM) enable these smart AFEs for processor-less applications and design reuse. These devices automatically detect SPI or I2C interfaces and contain an internal reference.The Texas Instruments AFEx32A3W feature set, combined with the tiny package and low power, make these smart AFEs an excellent choice for applications such as laser diode power control and electro-absorption modulated laser (EML) control in passive optical network (PON) and other industrial laser applications.
Features
- Current-source DAC
- 1LSB DNL
- Two ranges (300mA and 220mA)
- 770mV headroom
- Dual voltage-output DACs
- 1LSB DNL
- Gains of 1×, 1.5×, 2×, 3×, and 4×
- ADC input on channel 1
- Programmable comparator mode on channel 1
- High-impedance output when VDD is off
- High-impedance and resistive pulldown power-down modes
- 50MHz SPI-compatible interface
- Automatically detects I2C or SPI at 1.62V VIH with VDD = 5.5V
- General-purpose input/output (GPIO) configurable as multiple functions
- Predefined waveform generation: sine, cosine, triangular, sawtooth
- User-programmable nonvolatile memory (NVM)
- Internal or power supply as reference
- Wide operating range
- 3V to 5.5V power supply
- -40˚C to +125˚C temperature
Applications
- Optical module
- Laser
Functional Block Diagram
Publicerad: 2024-03-13
| Uppdaterad: 2024-03-21
