Texas Instruments AWR1243 76GHz to 81GHz mmWave Automotive MMIC
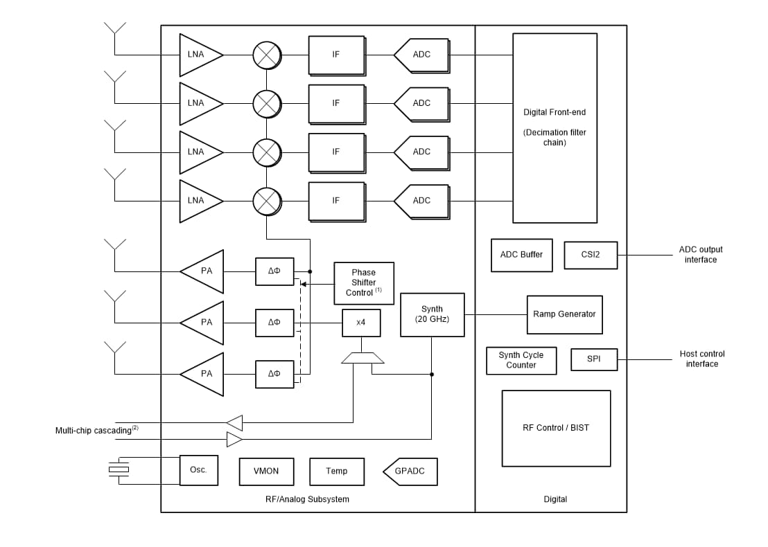
Texas Instruments AWR1243 76GHz to 81GHz mmWave Automotive MMIC is an integrated single-chip FMCW transceiver in an extremely small form factor. The AWR1243 MMIC is an ideal solution for low-power, self-monitored, ultra-accurate radar systems in the automotive space. The device is built on TI's low-power 45nm RFCMOS process, which enables a monolithic implementation of a 3TX, 4RX system with built-in PLL and A2D converters. Simple programming model changes can enable a wide variety of sensor implementations (Short, Mid, Long) with the possibility of dynamic reconfiguration for implementing a multimode sensor. The AWR1243 is provided as a complete platform solution, including reference hardware design, software drivers, sample configurations, API guide, and user documentation.Features
- FMCW Transceiver
- Integrated PLL, transmitter, receiver, baseband, and A2D
- 76GHz to 81GHz Coverage with 4GHz available bandwidth
- Four receive channels
- Three transmit channels (Two channels simultaneously for AWR1243 and all three channels simultaneously for AWR1243P)
- Ultra-accurate chirp engine based on fractional-N PLL
- 12dBm TX Power
- RX Noise figure:
- 14dB (76 to 77GHz)
- 15dB (77 to 81GHz)
- Phase noise at 1MHz:
- –95dBc/Hz (76GHz to 77GHz)
- –93dBc/Hz (77GHz to 81GHz)
- Built-in calibration and self-test
- Built-in firmware (ROM)
- Self-calibrating system across frequency and temperature
- Host interface
- Control interface with an external processor over SPI
- Data interface with external processor over MIPI D-PHY and CSI2 V1.1
- Interrupts for fault reporting
- AWR1243 Advanced features
- Embedded self-monitoring with no host processor involvement
- Complex baseband architecture
- Option of cascading multiple devices to increase channel count
- Embedded interference detection capability
- Power management
- Built-in LDO network for enhanced PSRR
- I/Os Support dual voltage 3.3V/1.8V
- Clock source
- Supports externally driven clock (square/sine) at 40MHz
- Supports 40MHz crystal connection with load capacitors
- Easy hardware design
- 0.65mm Pitch, 161-pin 10.4mm × 10.4mm flip chip BGA package for easy assembly and low-cost PCB design
- Small solution size
- Supports automotive temperature operating range
- ASIL B Targeted
- AEC-Q100 Qualified
Applications
- Automated highway driving
- Automatic emergency braking
Block Diagram
Publicerad: 2018-12-17
| Uppdaterad: 2023-07-24
