Texas Instruments CC3235x SimpleLink™ Wi-Fi® MCU Solution
Texas Instruments CC3235x SimpleLink™ Wi-Fi®, Dual-Band Single-chip Wireless MCU Solution integrates two processors within a single chip and comes in two variants, the CC3235S and CC3235SF. The CC3235S incorporates 256KB of RAM, IoT networking security, and device identity/keys. The CC3235S additionally offers MCU-level security features such as file system encryption, user IP (MCU image) encryption, secure boot, and debug security. The CC3235SF builds on the CC3235S and integrates a user-dedicated 1MB of executable flash in addition to the 256KB of RAM.The Texas Instruments CC3235x SimpleLink Series provides a network processor to run all Wi-Fi and internet logical layers. The ROM-based subsystem completely offloads the host MCU, including an 802.11a/b/g/n dual-band 2.4GHz and 5GHz radio, baseband, and MAC with a powerful hardware cryptography engine. The CC3235x devices feature capabilities that simplify the connectivity of IoT applications. These features include 802.11a (5GHz) support, BLE/2.4GHz radio coexistence, antenna selection, enhanced security with FIPS 140-2 Level 1 certification, up to 16 concurrent secure sockets, and a certificate sign request (CSR).
Features
- Multiple-core architecture, system-on-chip (SoC)
- 802.11 a/b/g/n: 2.4GHz and 5GHz
- FIPS 140-2 Level 1 Certification
- Multilayered security features help developers protect identities, data, and software IP
- Low-power modes for battery powered application
- Coexistence with 2.4GHz radios
- –40°C to +85°C industrial temperature
- Wi-Fi CERTIFIED™ by the Wi-Fi Alliance®
- Application microcontroller subsystem
- Arm® Cortex®-M4 core at 80MHz
- User-dedicated memory
- 256KB RAM
- Optional 1MB executable Flash
- Rich set of peripherals and timers
- 27 I/O pins with flexible multiplexing options
- UART, I2S, I2C, SPI, SD, ADC, 8-bit parallel interface
- Timers and PWM
- Wi-Fi network processor subsystem
- Wi-Fi core
- 802.11 a/b/g/n 2.4GHz and 5GHz
- Modes:
- Access Point (AP)
- Station (STA)
- Wi-Fi Direct® (only supported on 2.4GHz)
- Security:
- WEP
- WPA™/WPA2™ PSK
- WPA2 Enterprise
- Internet and application protocols
- HTTPs server, mDNS, DNS-SD, DHCP
- IPv4 and IPv6 TCP/IP stack
- 16 BSD sockets (fully secured TLS v1.2 and SSL 3.0)
- Built-in power management subsystem
- Configurable low-power profiles (always, intermittent, tag)
- Advanced low-power modes
- Integrated DC/DC regulators
- Wi-Fi core
- Multilayered security features
- Separate execution environments
- Networking security
- Device identity and key
- Hardware accelerator cryptographic engines (AES, DES, SHA/MD5, CRC)
- Application-level security (encryption, authentication, access control)
- Initial secure programming
- Software tamper detection
- Secure boot
- Certificate signing request (CSR)
- Unique per device key pair
- Application throughput
- UDP: 16 Mbps, TCP: 13Mbps
- Peak: 72Mbps
- Power-Management Subsystem
- Integrated DC/DC converters support a wide range of supply voltage:
- VBAT wide-voltage mode: 2.1V to 3.6V
- VIO is always tied with VBAT
- Advanced low-power modes
- Shutdown: 1µA, hibernate: 4.5µA
- Low-power deep sleep (LPDS): 120µA
- Idle connected (MCU in LPDS): 710µA
- RX traffic (MCU active): 59mA
- TX traffic (MCU active): 223mA
- Integrated DC/DC converters support a wide range of supply voltage:
- Wi-Fi TX power
- 2.4GHz: 18.0dBm at 1 DSSS
- 5GHz: 18.1dBm at 6 OFDM
- Wi-Fi RX sensitivity
- 2.4GHz: –96dBm at 1 DSSS
- 5GHz: –92dBm at 6 OFDM
- Clock source
- 40.0MHz crystal with internal oscillator
- 32.768kHz crystal or external RTC
- RGK package
- 64-Pin, 9mm × 9mm very thin quad flat nonleaded (VQFN) package, 0.5mm pitch
- The device supports SimpleLink™ MCU Platform Developer’s Ecosystem
Applications
- Internet of Things (IoT)
- Building and home automation
- HVAC systems and thermostats
- Video surveillance, video doorbells, and low-power camera
- Building security systems and E-locks
- Appliances
- Asset tracking
- Factory automation
- Medical and healthcare
- Grid infrastructure
- Building and home automation
Videos
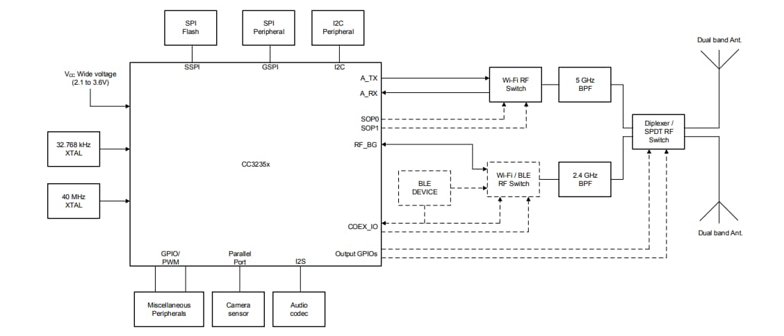
Functional Block Diagram
Hardware Overview
Publicerad: 2019-02-19
| Uppdaterad: 2024-05-16
