Texas Instruments DRV10987 3-Phase Sensorless BLDC Motor Drivers

Texas Instruments DRV10987 50W, 12V to 24V, 3-Phase Sensorless BLDC Motor Drivers use a 180° sinusoidal motor driver integrated with power MOSFETs, offering continuous drive current up to 2A. The device distributes current to the motor with a low supply voltage of 6.2V, operating at an ambient temperature of -40°C to 125°C. Protection features encompass Overcurrent Protection when the power supply voltage is higher than 28V, Lock Detection that detects rotor lock condition, and Anti-voltage Surge (AVS) Protection.

Providing continuous sinusoidal drive, the DRV10987 uses a proprietary sensorless control scheme, significantly reducing the pure tone acoustics that typically occurs due to commutation. The easy and flexible I2C interface provides motor speed feedback simultaneously with the FG pin. Additionally, the I2C interface can reprogram specific motor parameters in registers and program the EEPROM, resulting in optimized performance in any particular application. Both internal and external circuits are powered by the integrated buck regulator, which powers down the DRV10987 to 5V. The Texas Instruments DRV10987 comes in a thermally-efficient HTSSOP-24 package with an exposed thermal pad. It is specially designed for cost-sensitive, low-noise, low-external-component-count fan and pump applications.

Features

  • Operation voltage range
    • The motor operation is from 6.2V to 28V
  • Total driver H + L rDS(on)
    • 250mΩ at TA = 25°C
  • 2A continuous winding current (3A peak) drive current 
  • Sensorless sinusoidal 180° commutation scheme
  • Configurable output PWM slew rate and frequency for EMI management
  • Initial position-detect algorithm to avoid back-spin during start-up
  • Flexible user interface options
    • I2C interface to access registers for command and feedback
    • A dedicated SPEED pin accepts either analog or PWM input
    • A dedicated FG pin provides TACH feedback
    • A spin-up profile can be customized with EEPROM
    • Forward-reverse control with DIR pin
  • No external sense resistor required
  • Integrated buck converter, 5V, 100mA
  • Integrated LDO, 3.3V, 20mA
  • Standby current of 8.5mA
  • Supply current of 8.5mA with standby version (DRV10987S)
  • Supply current of 48µA with sleep version (DRV10987D)
  • Protection features
    • Overcurrent protection (phase-to-phase, phase-to-GND and phase-to-VCC short circuits)
    • Lock detection to detect rotor lock condition
    • Anti-Voltage Surge (AVS) protection
    • Undervoltae Lockout (UVLO)
    • Overvoltage protection
    • Thermal warning and shutdown
  • Thermally enhanced package

Applications

  • Pedestal and ceiling fans
  • Air purifiers and humidifiers
  • Dryer circulation fans
  • Drain and water pumps
  • Three-phase BLDC and PMSM motors

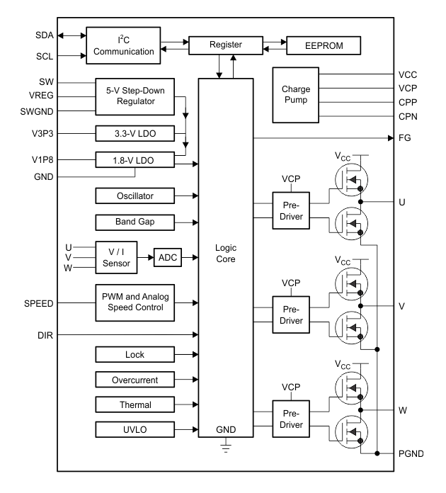
Functional Block Diagram

Block Diagram - Texas Instruments DRV10987 3-Phase Sensorless BLDC Motor Drivers
Publicerad: 2018-04-04 | Uppdaterad: 2022-11-18