Texas Instruments LP5813 4 × 3 Matrix RGB LED Driver

Texas Instruments LP5813 4 × 3 Matrix RGB LED Driver is a synchronous boost RGB driver with autonomous animation engine control. The device is ideal for supporting battery-powered applications with a 0.5V to 5.5V input voltage range, and it has ultra-low normal operation current with 0.4mA (typical) when illuminating LEDs.

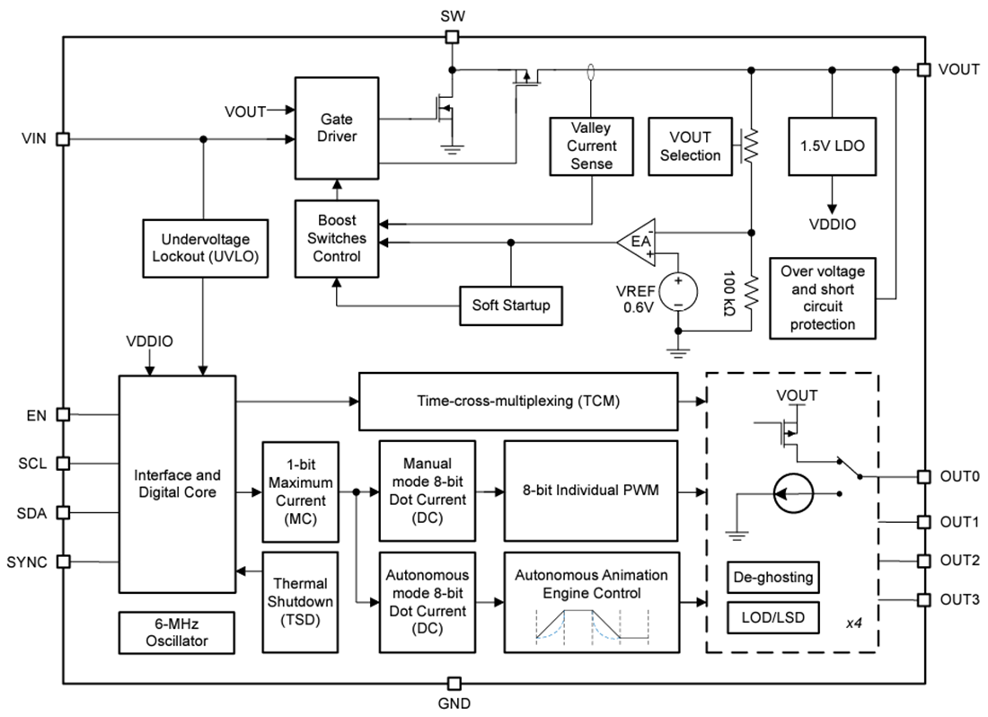
The integrated synchronous boost converter maintains excellent efficiency and keeps the brightness of LEDs stable over a wide operating voltage range. The output voltage can be selected for different LED forward voltages from 3V to 5.5V with 0.1V step. The boost converter can power the LEDs driven and other loads in the system. If the boost converter needs to be bypassed, VOUT is used as the power supply input for the LED driver blocks.

The time-cross-multiplexing (TCM) structure, which uses four output pins to control 12 LED dots individually, is adopted. The high-side scan switch and low-side current sink are contained in one output. The total solution size is minimized for a space-limited system.

The autonomous animation engine can significantly reduce the real-time loading of the controller. Each LED can be configured through the related registers to realize vivid and fancy lighting effects. The Texas Instruments LP5813 can generate a 6MHz clock signal and synchronize the lighting effects among multiple devices.

Features

  • Operating voltage range
    • 0.5V to 5.5V input voltage (VIN) range
    • 1.8V minimum input voltage for start-up
    • Logic pins compatible with 1.8V, 3.3V, and 5V
  • High-efficiency synchronous boost converter
    • 3V to 5.5V output voltage (VOUT) range
    • 140mΩ (HS)/60mΩ (LS) MOSFETs
    • 1.6A valley switching current limit
    • 95% efficiency at VIN = 4.2V, VOUT = 5.0V, IOUT = 300mA
    • Pass-through mode when VIN > VOUT setting
    • True disconnection between input and output during shutdown
  • Time-cross-multiplexing (TCM) topology
    • Drives up to 12 LEDs or 4 RGB LEDs
    • ¼, ⅓, ½, 1 multiplexing ratio
    • Supports direct, TCM, and mix-drive modes
  • Four constant current sinks with high precision
    • 0.1mA to 51mA per current sink
    • Device-to-device error of ±5% max
    • Channel-to-channel error of ±5% max
    • Ultra-low headroom voltage of 110mV (typ.) at 25.5mA; 210mV (typ.) at 51mA
    • PWM phase shift configurable for each LED
  • Ultra-low power consumption
    • Shutdown: ISD = 0.1µA (typical) when EN = Low
    • Standby: ISTB = 26µA (typical) when EN = High and CHIP_EN = 0 (data retained)
    • Active: INOR = 0.45mA (typical) when LED current = 25.5mA
  • Analog dimming (current gain control)
    • Global 1-bit Maximum Current (MC): 25.5mA or 51mA
    • Individual 8-bit Dot Current (DC) setting
  • PWM dimming up to audible-noise-free 24kHz
    • Individual 8-bit PWM dimming resolution
    • Linear or exponential dimming curves
  • Autonomous animation engine control
  • Individual LED dot open/short detection
  • Integrated de-ghosting function
  • 1MHz (max.) I2C interface
  • –40°C to 85°C operating temperature range

Applications

  • LED animation and indication for
    • Portable and wearable electronics - earbud and charging case, E-cigarette, smartwatch
    • Gaming and home entertainment - smart speaker, RGB mouse, VR headset and controller
    • Internet-of-Things (IoT) - E-tag, video doorbell
    • Networking - router, access point
    • Industrial HMI - EV charger, factory automation

Functional Block Diagram

Block Diagram - Texas Instruments LP5813 4 × 3 Matrix RGB LED Driver
Publicerad: 2023-12-11 | Uppdaterad: 2024-06-07