Texas Instruments TMS320F2812 32-Bit Digital Signal Controller (DSC)
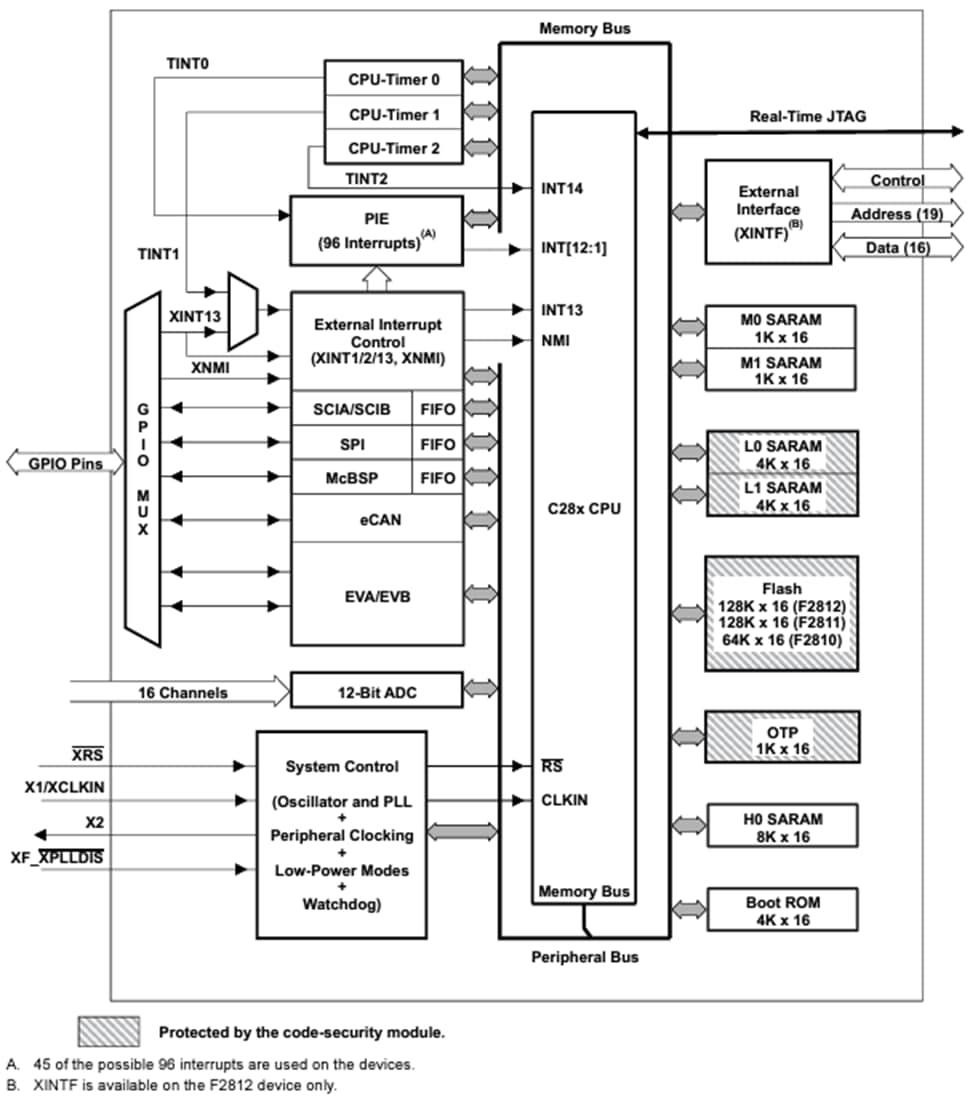
Texas Instruments TMS320F2812 32-Bit Digital Signal Controller (DSC) with Flash features high-performance CMOS technology, a 32-bit CPU, and a low-power core. TMS320F2812 DSC contains 128K x 16 of embedded flash memory, segregated into four 8K x 16 sectors and six 16K x 16 sectors. This TI device also contains a single 1K x 16 OTP memory at address range 0x3D 7800-0x3D 7BFF. The user can individually erase, program, and validate a flash sector while leaving other sectors untouched.Features
- High-performance static CMOS technology
- 150MHz (6.67ns cycle time)
- Low-power (1.8V core at 135MHz, 1.9V core at 150MHz, 3.3V I/O) design
- JTAG Boundary Scan support IEEE Standard 1149.1-1990 IEEE standard test access port and Boundary-Scan architecture
- High-performance 32-bit CPU (TMS320C28x)
- 16 x 16 and 32 x 32 MAC operations
- 16 x 16 dual MAC
- Harvard bus architecture
- Atomic operations
- Fast interrupt response and processing
- Unified memory programming model
- 4M linear program/data address reach
- Code-efficient (in C/C++ and assembly)
- TMS320F24x/LF240x processor source code compatible
- On-chip memory
- Flash devices with up to 128K x 16 Flash (four 8K x 16 and six 16K x 16 sectors)
- ROM devices with up to 128K x 16 ROM
- 1K x 16 OTP ROM
- L0 and L1: Two blocks of 4K x 16 each Single-Access RAM (SARAM)
- H0: One block of 8K x 16 SARAM
- M0 and M1: Two blocks of 1K x 16 each SARAM
- Boot ROM (4K x 16)
- With software boot modes
- Standard math tables
- External interface (2812)
- Over 1M x 16 total memory
- Programmable wait states
- Programmable read/write strobe timing
- Three individual chip selects
Applications
- Advanced Driver Assistance Systems (ADAS)
- Building automation
- Electronic point of sale
- Electric Vehicle/Hybrid Electric Vehicle (EV/HEV) powertrain
- Factory automation
- Grid infrastructure
- Industrial transport
- Medical, healthcare, and fitness
- Motor drives
- Power delivery
- Telecom infrastructure
- Test and measurement
Functional Block Diagram
Publicerad: 2019-10-07
| Uppdaterad: 2023-11-27
