Texas Instruments TPS82084 Step-Down Converter Module
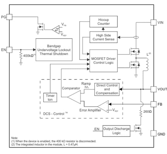
Texas Instruments TPS82084 Step-Down Converter Module is a high-efficiency, 2A step-down converter MicroSiP™ module optimized for small solution size. This power module integrates a synchronous step-down converter and an inductor to simplify design, reduce external components and save PCB area. The TPS82084 module with a low profile and compact solution is suitable for automated assembly by standard surface mount equipment. To maximize efficiency, the converter operates in PWM mode with a nominal switching frequency of 2.4MHz. This module automatically enters power save mode operation at light load currents. In power save mode, the device operates with a typical 17µA quiescent current. The device achieves excellent load transient performance and accurate output voltage regulation using the DCS-Control™ topology.Features
- 2A, low profile MicroSiP power module
- DCS-control topology
- Up to 95% efficiency
- 17µA operating quiescent current
- -40°C to 125°C operating temperature range
- Hiccup short circuit protection
- 2.5V to 6V input voltage range
- 0.8V to VIN adjustable output voltage
- Power save mode for light load efficiency
- 100% duty cycle for the lowest dropout
- Output discharge function
- Power good output
- Integrated soft startup
- Over temperature protection
- 3.0mm x 2.8mm x 1.3mm 8-pin µSiL package
Applications
- Battery powered applications
- Solid state drives
- Processor supply
- Mobile phones
TPS82084 Block Diagram
Publicerad: 2015-10-28
| Uppdaterad: 2023-11-03
