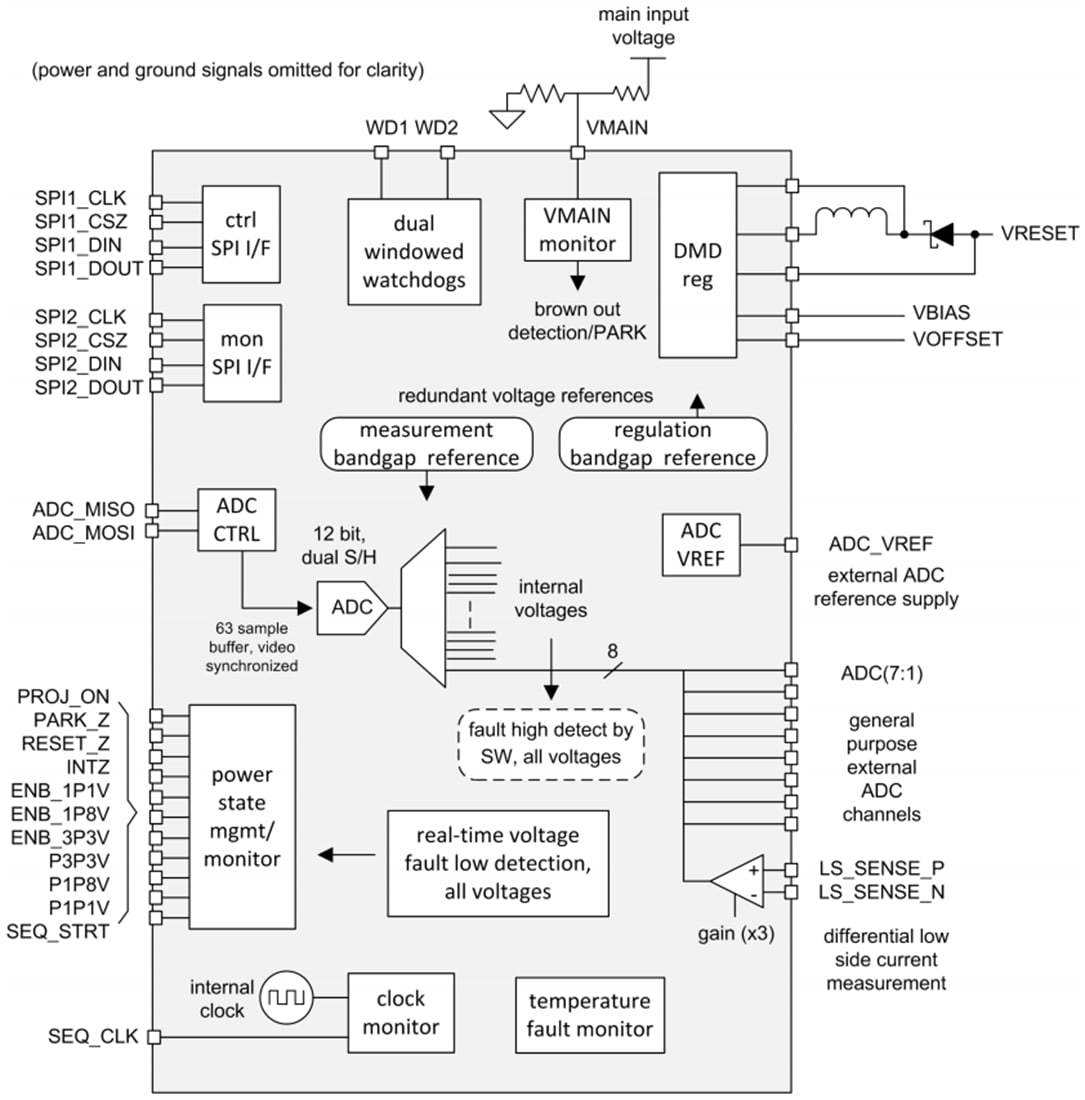
Texas Instruments TPS99001-Q1 System Management Controller
Texas Instruments TPS99001-Q1 System Management Controller is part of the DLP5531-Q1 chipset, which also includes the DLPC230-Q1 Digital Micromirror Device (DMD) display controller. An integrated DMD high-voltage regulator supplies DMD mirror reference voltages, meeting the required tight tolerances. The power supply sequencer and monitor provide robust coordination of power-up and power-down events for the entire chipset.Texas Instruments TPS99001-Q1 controller integrates a 12-bit ADC as one of the core components of the control system. The ADC is capable of automatic sampling up to 63 events per video frame.
Advanced system status monitoring circuits provide real-time visibility into display sub-system operational conditions. These conditions include two processor watchdog circuits, two die temperature monitors and comprehensive supply monitoring for overvoltage and undervoltage detection. Additional conditions include checksum and password register protection with byte-level parity on SPI bus transactions and other built-in test functions.
Features
- Qualified for automotive applications
- AEC-Q100 qualified with the following results
- –40°C to 105°C ambient operating temperature (temperature grade 2)
- Device HBM ESD classification level 2
- Device CDM ESD classification level C4B
- Automotive system management device for DLP® products
- Advanced power monitoring, sequencing, and protection circuits
- Two die temperature monitors, MCU external watchdog timer, clock frequency monitor
- SPI port with parity, checksum, and password register protection
- Second SPI port for independent system monitoring
- On-chip DMD mirror voltage regulators
- Generates +16V, +8.5V and –10V DMD control voltages
- 12-bit ADC with up to 63-time sequence samples per frame
Applications
- Automotive advanced lighting applications (high-resolution headlight)
- Adaptive driving beam (ADB)
Functional Block Diagram
Publicerad: 2021-03-04
| Uppdaterad: 2025-02-27
