Texas Instruments ADS4122 / ADS4142 / ADS4145 Ultra-Low-Power ADCs
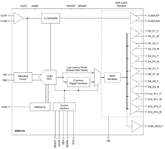
Texas Instruments ADS4122, ADS4142, and ADS4145 Ultra-Low-Power Analog-to-Digital Converters (ADCs) are lower sampling speed variants of the ADS41xx family of ADCs. TI ADS4122 ADCs are 65MSPS 12-bit devices while ADS4142 ADCs are 65MSPS 14-bit devices. The ADS4145 is a 125MSPS 14-bit ADC. These TI ultra-low-power data converters use innovative design techniques to achieve high dynamic performance, while consuming extremely low power with a 1.8V supply. ADS4122, ADS4142, and ADS4145 ADCs are ideal for use in multi-carrier, wide-bandwidth communications applications.Features
- Ultra-low power with 1.8V single supply
- 103mW total power at 65MSPS
- 153mW total power at 125MSPS
- High dynamic performance
- SNR: 72.2dBFS at 170MHz
- SFDR: 81dBc at 170MHz
- Dynamic power scaling with sample rate
- Output interface
- Double data rate (DDR) LVDS with programmable swing and strength
- 350mV standard swing
- 200mV low swing
- Default strength: 100Ω termination
- 2× strength: 50Ω termination
- 1.8V parallel CMOS interface also supported
- Programmable gain up to 6dB for SNR/SFDR trade-off
- DC offset correction
- Supports low input clock amplitude down to 200mVPP
- 7mm x 7mm QFN-48 package
Applications
- Multi-carrier communications
- Wide-bandwidth communications
Block Diagram
View Results ( 6 ) Page
| Artikelnummer | Beskrivning | Serie | Upplösning | Samplingshastighet | Strömförbrukning |
|---|---|---|---|---|---|
| ADS4122IRGZT | Analoga till digitala omvandlare - ADC 12B 65MSPS Lo Pwr AD C A 595-ADS4122IRGZ A 595-ADS4122IRGZR | ADS4122 | 12 bit | 65 MS/s | 95 mW |
| ADS4145IRGZT | Analoga till digitala omvandlare - ADC 14B 125MSPS Lo Pwr A DC A 595-ADS4145IRG A 595-ADS4145IRGZR | ADS4145 | 14 bit | 125 MS/s | 136 mW |
| ADS4122IRGZR | Analoga till digitala omvandlare - ADC 12B 65MSPS Lo Pwr AD C A 595-ADS4122IRGZ A 595-ADS4122IRGZT | ADS4122 | 12 bit | 65 MS/s | 95 mW |
| ADS4142IRGZR | Analoga till digitala omvandlare - ADC 14B 65MSPS Lo Pwr AD C A 595-ADS4142IRGZ A 595-ADS4142IRGZT | ADS4142 | 14 bit | 65 MS/s | 95 mW |
| ADS4142IRGZT | Analoga till digitala omvandlare - ADC 14B 65MSPS Lo Pwr AD C A 595-ADS4142IRGZ A 595-ADS4142IRGZR | ADS4142 | 14 bit | 65 MS/s | 95 mW |
| ADS4145IRGZR | Analoga till digitala omvandlare - ADC 14B 125MSPS Lo Pwr A DC A 595-ADS4145IRG A 595-ADS4145IRGZT | ADS4145 | 14 bit | 125 MS/s | 136 mW |
Publicerad: 2011-12-12
| Uppdaterad: 2025-06-23
