Texas Instruments IWR6x mmWave 60GHz to 64GHz Sensors
Texas Instruments IWR6x mmWave 60GHz to 64GHz Sensors are integrated single-chip mmWave sensors based on FMCW radar technology capable of operation in the 60GHz to 64GHz band. These devices are built with TI’s low-power 45nm RFCMOS process and enable unprecedented levels of integration in an extremely small form factor. Texas Instruments IWR6x mmWave 60GHz to 64GHz Sensors are ideal for low-power, self-monitored, ultra-accurate radar systems in the industrial space.Features
- FMCW transceiver
- Integrated PLL, transmitter, receiver, Baseband, and A2D
- 60GHz to 64GHz coverage with 4GHz continuous bandwidth
- Four receive channels
- Three transmit channels
- Supports 6-bit phase shifter for TX Beamforming
- Ultra-accurate chirp engine based on fractional-N PLL
- 12dBm TX power
- 12dB RX noise figure
- -93dBc/Hz phase noise at 1MHz
- Built-in calibration and self-test
- Arm® Cortex®-R4F-based radio control system
- Built-in firmware (ROM)
- Self-calibrating system across frequency and temperature
- C674x DSP for advanced signal processing (IWR6843 only)
- Hardware accelerator for FFT, filtering, and CFAR processing
- Memory compression
- ARM-R4F microcontroller for object detection and interface control
- Supports autonomous mode (loading user application from QSPI flash memory)
- Internal memory with ECC
- IWR6843 - 1.75MB, divided into MSS program RAM (512KB), MSS data RAM (192KB), DSP L1 RAM (64KB) and L2 RAM (256KB), and L3 radar data cube RAM (768KB)
- IWR6443 - 1.4MB, divided into MSS program RAM (512KB), MSS data RAM (192KB), and L3 radar data cube RAM (768KB)
- Technical reference manual includes allowed size modifications
- Other interfaces available to user application
- Up to 6 ADC channels (low sample rate monitoring)
- Up to 2 SPI ports
- Up to 2 UARTs
- 1 CAN-FD interface
- I2C
- GPIOs
- Two-lane LVDS interface for raw ADC data and debug instrumentation
- Functional Safety-Compliant targeted
- Developed for functional safety applications
- Documentation will be available to aid IEC 61508 functional safety system design
- Hardware integrity up to SIL-2 targeted
- Safety-related certification
- IEC 61508 certification by TUV Sud planned
- Power management
- Built-in LDO network for enhanced PSRR
- I/Os support dual voltage 3.3V/1.8V
- Clock source
- 40.0MHz crystal with internal oscillator
- Supports external oscillator at 40MHz
- Supports externally driven clock (square/sine) at 40MHz
- Easy hardware design
- 0.65mm pitch, 161-pin 10.4mm × 10.4mm flip-chip BGA package for easy assembly and low-cost PCB design
- Small solution size
- Operating conditions
- Junction temperature range of –40ºC to +105ºC
Applications
- Industrial sensor for measuring range, velocity, and angle
- Building automation
- Displacement sensing
- Gesture recognition
- Robotics
- Traffic monitoring
- Proximity and position sensing
- Security and surveillance
- Factory automation safety guards
- People counting
- Motion detection
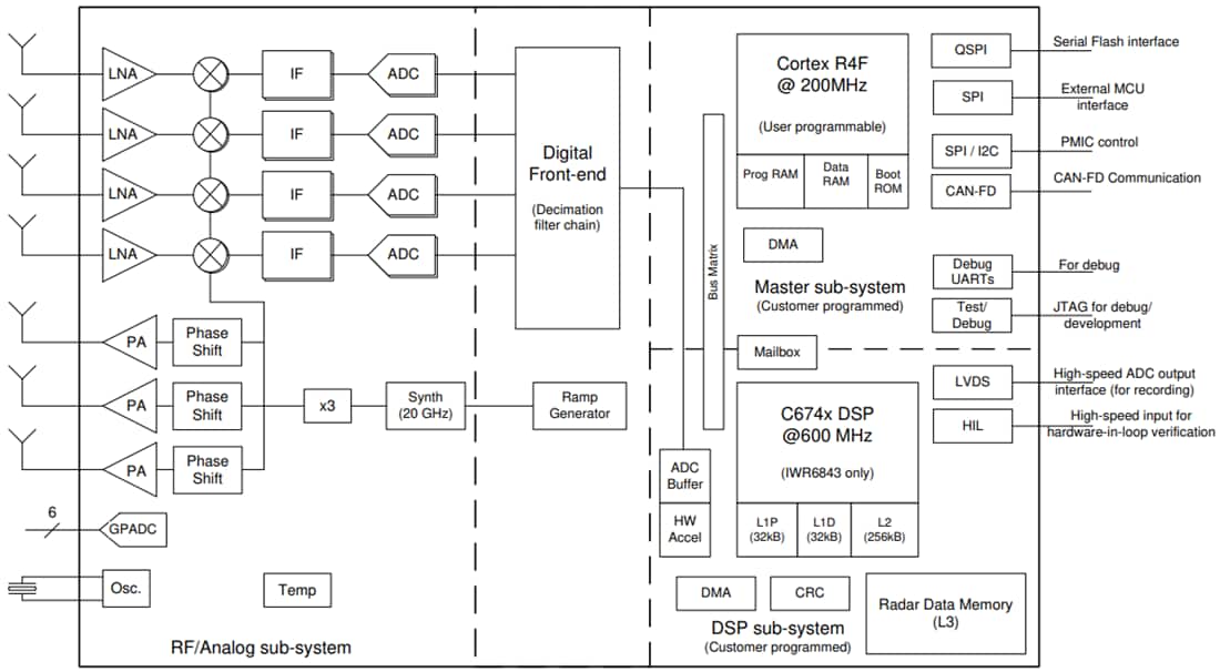
Functional Block Diagram
Publicerad: 2019-11-06
| Uppdaterad: 2024-09-16
